EasyManua.ls Logo

GE Café series - Page 81

GE Café series
144 pages
Print Icon
To Next Page IconTo Next Page
To Next Page IconTo Next Page
To Previous Page IconTo Previous Page
To Previous Page IconTo Previous Page
Loading...
33
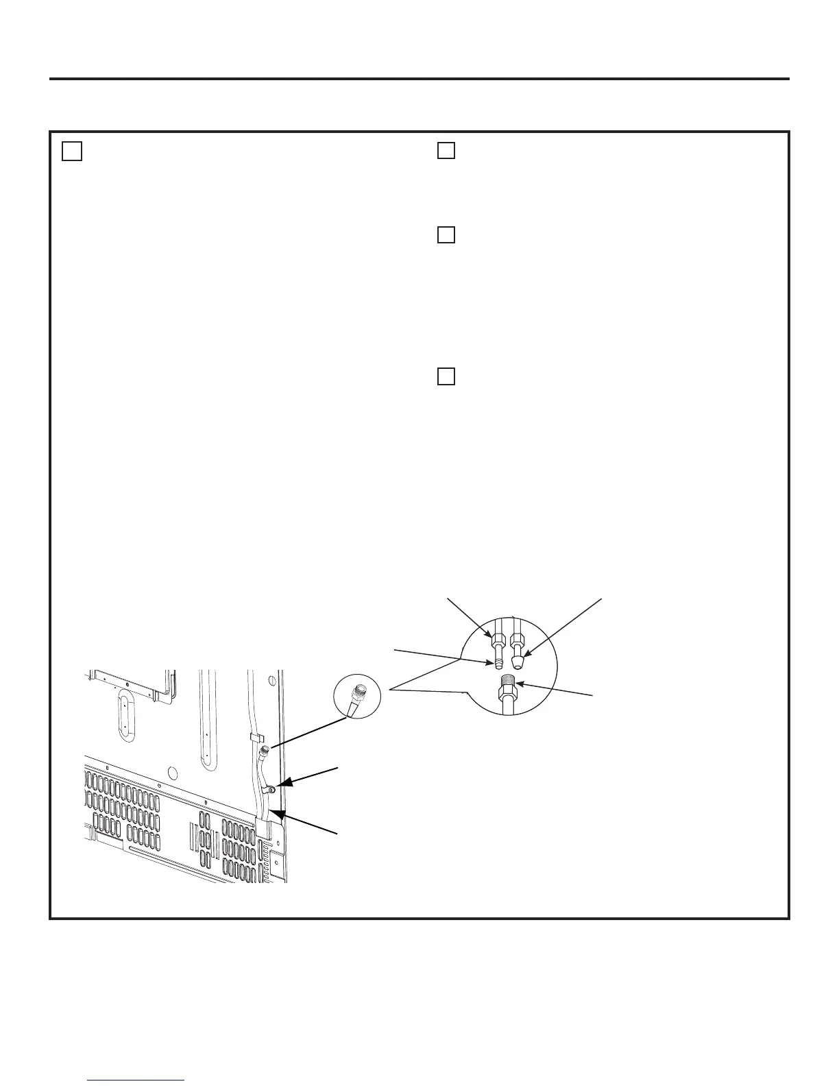
1/4 Tubing
Tuyau de 1/4 po
Tubería de 1/4
Tubing Clamp
Bride
Abrazadera del tubo
Instructions d’installation
INSTALLATION DU RÉFRIGÉRATEUR (suite)
Si vous utilisez un tuyau de cuivre, placez un écrou de
compression et une bague (manchon) à l’extrémité
du tuyau qui vient de l’alimentation d’eau froide de la
maison. Si vous utilisez le tuyau GESmartConnect™, les
écrous sont déjà assemblés au tuyau.
Si vous utilisez un tuyau de cuivre, insérez aussi loin que
possible l’extrémité du tuyau dans le raccord à l’arrière du
réfrigérateur. Tout en tenant le tuyau, serrez le raccord.
Si vous utilisez un tuyau GE SmartConnect™, insérez
l’extrémité moulée du tuyau dans le raccord à l’arrière du
réfrigérateur, puis serrez l’écrou à compression à la main.
Serrez ensuite d’un autre tour à l’aide d’une clé. Des fuites
peuvent survenir si l’écrou est trop serré.
Fixez le tuyau dans le collier de serrage fourni pour
le maintenir en position. Vous aurez peut être besoin
d’écarter la bride.
RACCORDEMENT DU RÉFRIGÉRATEUR À
LA CONDUITE D’EAU DE LA MAISON
Une alimentation d’eau froide est requise pour faire
fonctionner la machine à glaçons automatique. Vous
devrez en fournir une si elle n’existe pas. Consultez la
section « Installation de l’alimentation en eau ».
REMARQUES :
Avant de raccorder la conduite d’eau au réfrigérateur,
assurez-vous que le cordon d’alimentation électrique
du réfrigérateur n’est pas branché à la prise murale.
Si votre réfrigérateur n’est pas équipé de filtre à
eau, nous recommandons d’en monter un si votre
alimentation d’eau contient du sable ou des particules
qui peuvent boucher la grille du robinet d’eau du
réfrigérateur. Installez le dans la conduite d’alimentation
d’eau froide près du réfrigérateur. Si vous utilisez une
trousse GE SmartConnect™ Refrigerator Tubing, vous
aurez besoin d’un tuyau supplémentaire (WX08X10002)
pour brancher le filtre. Ne coupez pas le tuyau en
plastique pour installer le filtre.
Avant de raccorder la conduite d’eau à la maison,
purgez la ligne de la maison pendant au moins 2
minutes.
11
B
C
Écrou de
compression d’1/4 po
Embout
(manchon)
Tuyau
SmartConnect™
Raccord du
réfrigérateur
Bribe
Tuyau de 1/4 po
A

Table of Contents

Other manuals for GE Café series

Related product manuals