EasyManua.ls Logo

GE CT ProSpeed Series

GE CT ProSpeed Series
184 pages
To Next Page IconTo Next Page
To Next Page IconTo Next Page
To Previous Page IconTo Previous Page
To Previous Page IconTo Previous Page
Loading...
GE MEDICAL SYSTEMS CT PROSPEED SERIES INSTALLATION
2124011
3-14
REV 15
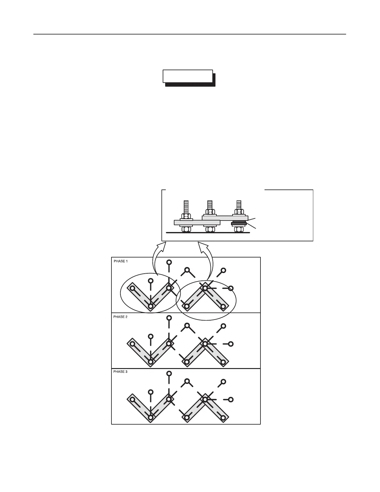
3–1–1 Setting Coupling Terminal for Input Voltage (continued)
NOTICE
Input
V
oltage 200 V can not be used for systems having a 350 mA/120 kV output, or in the US.
Note
There is a reserved metal plate at the right side of each TRANSFORMER COUPLING
TERMINAL.
The plate is for 200v only.
Note
When
set up is for 200 V
, it is necessary to adjust the metal plates. Height of these plates is adjusted
by using metal washers found at the right side of each TRANSFORMER COUPLING TERMINAL.
See Illustration 3–10.
V
200
B
C
D
A
E
F
G
H
J
K
L
B
C
D
A
E
F
G
H
J
K
L
B
C
D
A
E
F
G
H
J
K
L
RESERVED
SMALL WASHER
RESERVED
LARGE WASH-
ER
ADJUST METAL PLATE HEIGHT
200V
: TRANSFORMER COUPLING TERMINAL DET
AIL
ILLUSTRA
TION 3–10

Related product manuals