EasyManua.ls Logo

GE CT ProSpeed Series - Page 94

GE CT ProSpeed Series
184 pages
To Next Page IconTo Next Page
To Next Page IconTo Next Page
To Previous Page IconTo Previous Page
To Previous Page IconTo Previous Page
Loading...
*( 0(',&$/ 6<67(06 &7 35263((' 6(5,(6 ,167$//$7,21


5(9
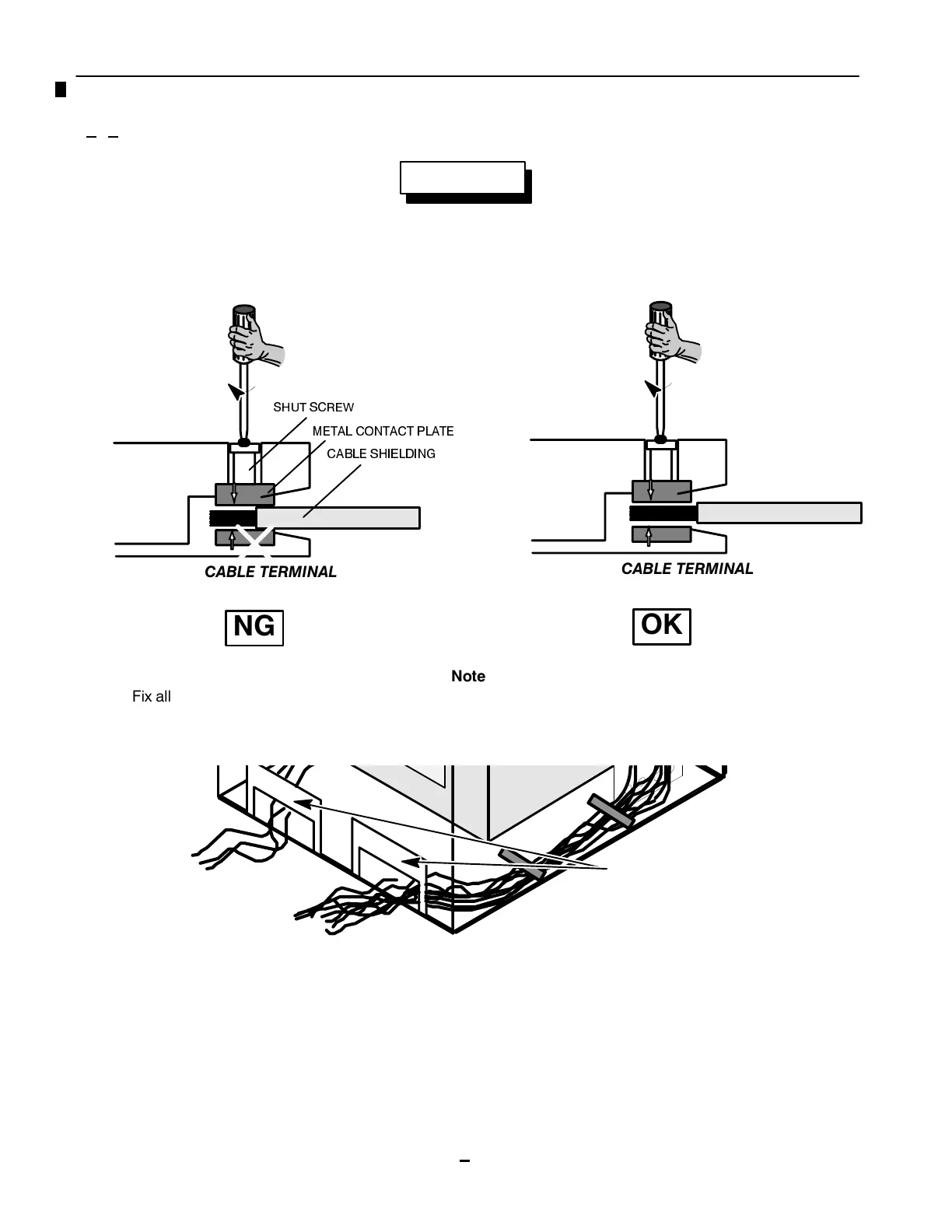
3'8 &DEOH &RQQHFWLRQV FRQWLQXHG
127,&(
:KHQ FRQQHFWLQJ D FDEOH WR D 3'8 FDEOH WHUPLQDO &XW DZD\ WKH VKLHOGLQJ VR WKDW WKH VKLHOGLQJ
LV QRW FODPSHG EHWZHHQ WKH PHWDO FRQWDFW SODWHV
&$%/( 6+,(/',1*
0(7$/ &217$&7 3/$7(
6+87 6&5(:
&$%/( 7(50,1$/
&$%/( 7(50,1$/
2.
1*
1RWH
)L[ DOO FDEOHV LQ WKH PHWDO FDEOH FUDPS GXFW 7KH PHWDO FDEOH FUDPS GXFW LV ORFDWHG DW WKH UHDU ERW
WRP VLGH
0(7$/ &$%/( &5$03 '8&7

Related product manuals