EasyManua.ls Logo

GE CT ProSpeed Series - Page 99

GE CT ProSpeed Series
184 pages
To Next Page IconTo Next Page
To Next Page IconTo Next Page
To Previous Page IconTo Previous Page
To Previous Page IconTo Previous Page
Loading...
*( 0(',&$/ 6<67(06 &7 35263((' 6(5,(6 ,167$//$7,21


5(9
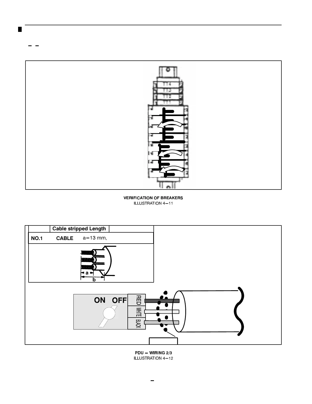
3'8 &DEOH &RQQHFWLRQV FRQWLQXHG
21
21
21
21
21
21
21
21
 9(5,)< 7+$7 $// %5($.(56 $5( 21
 12 :,5,1*
9(5,),&$7,21 2) %5($.(56
,//8675$7,21

E
D
&DEOH VWULSSHG /HQJWK
12 &$%/(
D  PP E pPP
/
/
/
12 &$%/(
7,(:5$3
3'8 :,5,1* 
,//8675$7,21


Related product manuals