EasyManua.ls Logo

GE JESP113 - Page 22

GE JESP113
32 pages
Print Icon
To Next Page IconTo Next Page
To Next Page IconTo Next Page
To Previous Page IconTo Previous Page
To Previous Page IconTo Previous Page
Loading...
6 49-40735 Rev. 1
USO DE LA HORNO
950 Watts
Su modelo puede tener otras características y apariencia que las ilustradas en este manual.
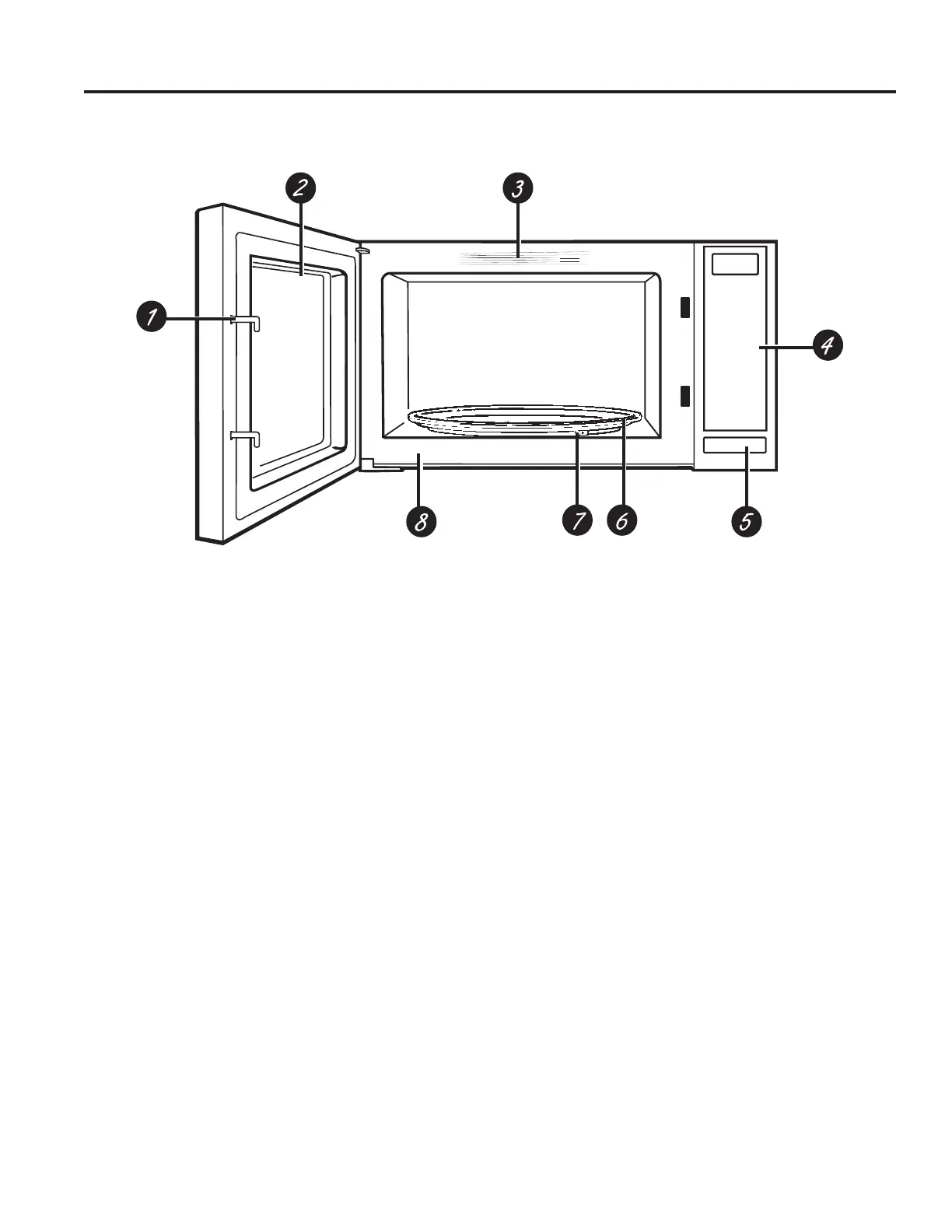
1 Enganches de la puerta.
2 Ventana con cobertura metálica. /DSDQWDOOD
permite que usted pueda ver lo que cocina, al tiempo
que mantiene las microondas confinadas en el horno.
3 Guía de conveniencia.
4 Panel de control de toque y pantalla.
5 Botón de liberación de los enganches de la
puerta. Presione el botón de liberación de los
enganches para abrir la puerta.
6 Plato giratorio desmontable. El plato giratorio y el
soporte deben estar en la ubicación correcta al usar
el horno. El plato giratorio se podrá retirar para su
limpieza.
7 Soporte Extraíble del Plato Giratorio. El plato
giratorio deberá estar en la ubicación correcta al usar
el horno.
8 Etiqueta de Calificación. /DHWLTXHWDGHFDOLILFDFLyQ
está ubicada en el frente del horno microondas.
Funciones

Related product manuals