EasyManua.ls Logo

GE STD15C - Page 35

GE STD15C
44 pages
Print Icon
To Next Page IconTo Next Page
To Next Page IconTo Next Page
To Previous Page IconTo Previous Page
To Previous Page IconTo Previous Page
Loading...
GEK-45307
vvvvvvvvvvvvvvml
TUPICAL
OFFSET
FAULT
CURRENT
WAVE
TUFICAI.
TRAN5FOR’4ER
?4AC,NCTIZ!NG
INRUSH
CURRENT
AVE
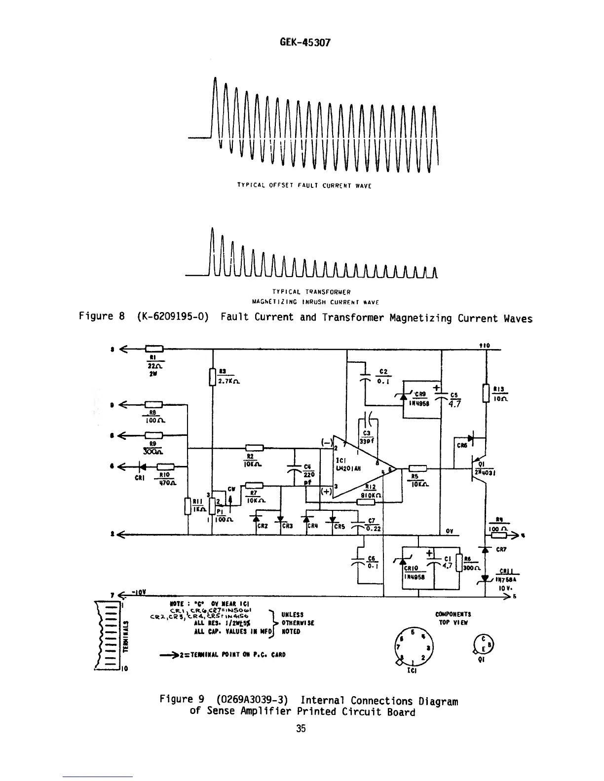
Figure
8
(K-6209195-O)
Fault
Current
and
Transformer
Magnetizing
Current
Waves
Figure
9
(0269A3039-3)
Internal
Connections
Diagram
of
Sense
Amplifier
Printed
Circuit
Board
I
$
N13
‘Or’.
I
7
I’,
-J
a
NOTE
:
DY
NEAR
ICI
CR
UNLESS
Al.L
RES.
J/2Wj5$
,.
OThERWISE
ALL
CAP.
VALUES
IN
MFj
NOTED
—.2=TE4INL
POINT
DV
P.C.
CARD
CO+4PON
EN
T5
TOP
VIEW
‘CI
35

Related product manuals