EasyManua.ls Logo

GE STD15C - Page 39

GE STD15C
44 pages
Print Icon
To Next Page IconTo Next Page
To Next Page IconTo Next Page
To Previous Page IconTo Previous Page
To Previous Page IconTo Previous Page
Loading...
LED
I
$TANTM4US
OVEPaJRRENT
UUT
T&SI
TAT.
ND
SEAL-I$
1’f.
S
1IO4E
REI4Y
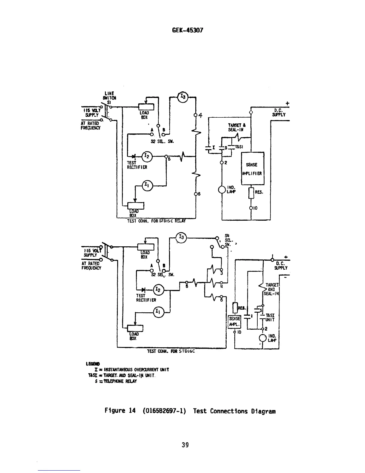
GEK-45307
Figure
14
(0165B2697-1)
Test
Connections
Diagram
TEST
c4N.
FOP
5TW6C
39

Related product manuals