EasyManua.ls Logo

GJD Opal XL - Additional Applications and Notes; ADDITIONAL APPLICATIONS; Example Relays and Piezo

GJD Opal XL
5 pages
Print Icon
To Next Page IconTo Next Page
To Next Page IconTo Next Page
To Previous Page IconTo Previous Page
To Previous Page IconTo Previous Page
Loading...
-4-
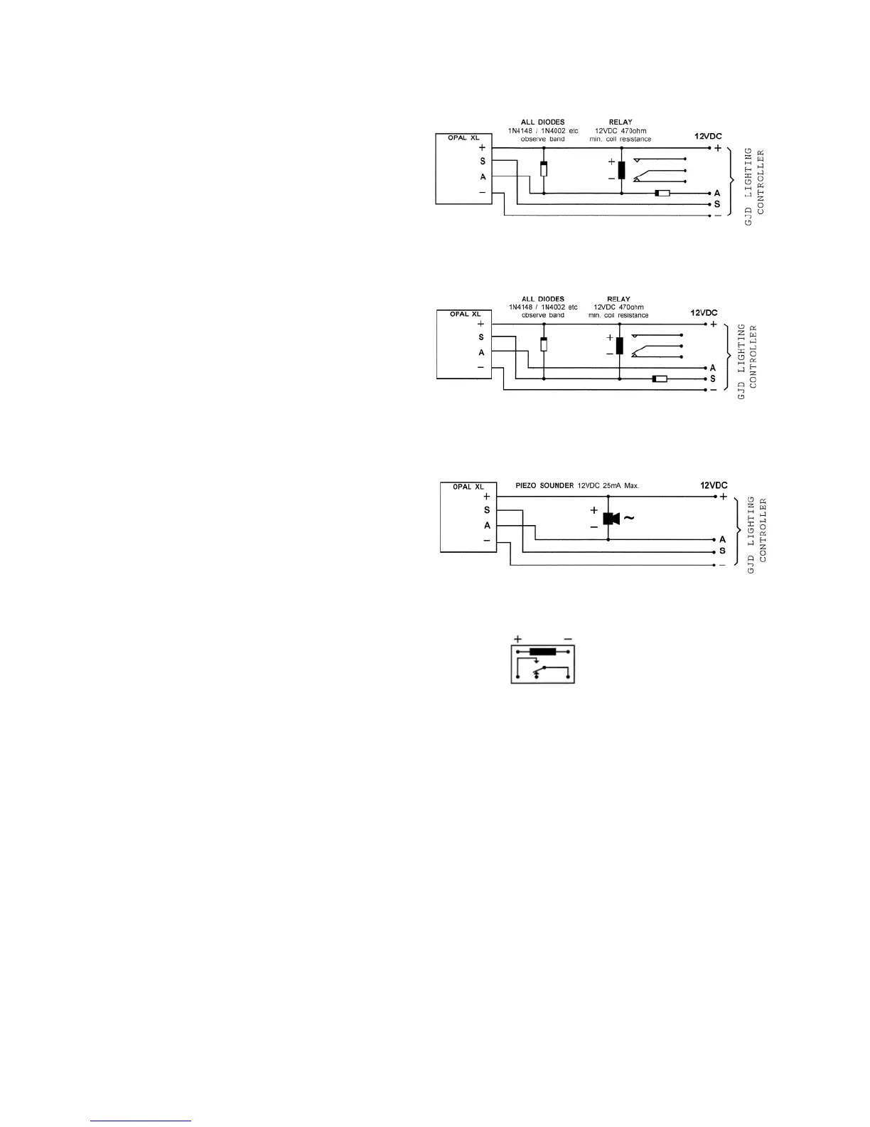
ADDITIONAL APPLICATIONS
Energising a relay with detection day or night
providing volt free contacts, Suggested relay
12VDC 470 ohms minimum coil resistance.
Energising a relay with detection at night for one
minute longer than last detection.
Driving a low power piezo sounder directly from
Opal XL.
The piezp will sound briey every time a
detection takes place day or night.
Example relays:
RS part number: 376-500
Farnell part number: 176-324
Example piezo:
RS part numver: 245-001
Pin View
Coil Polarity
12 VDC @ 3mA 80db (A) at one metre

Related product manuals