EasyManua.ls Logo

Glow-worm Ultimate 30FF - Terminal; Diagram 1.2

Glow-worm Ultimate 30FF
40 pages
Print Icon
To Next Page IconTo Next Page
To Next Page IconTo Next Page
To Previous Page IconTo Previous Page
To Previous Page IconTo Previous Page
Loading...
14
221518L
Diagram 4.5
5mm
TEMPLATE
FLUE
CENTRELINE
BOILER
MOUNTING
BRACKET
BOILER
CENTRELINE
MOUNTING
BRACKET FIXING
POINTS
FLUE
CENTRELINE
BOILER
CENTRELINE
TOP BOILER
MOUNTING
HOLES
7 dia.
7 dia.
3
/
16
in dia.
PLUG
NO.
12x2in
3
/
16
in dia.
PLUG
NO.
12x2in
4096
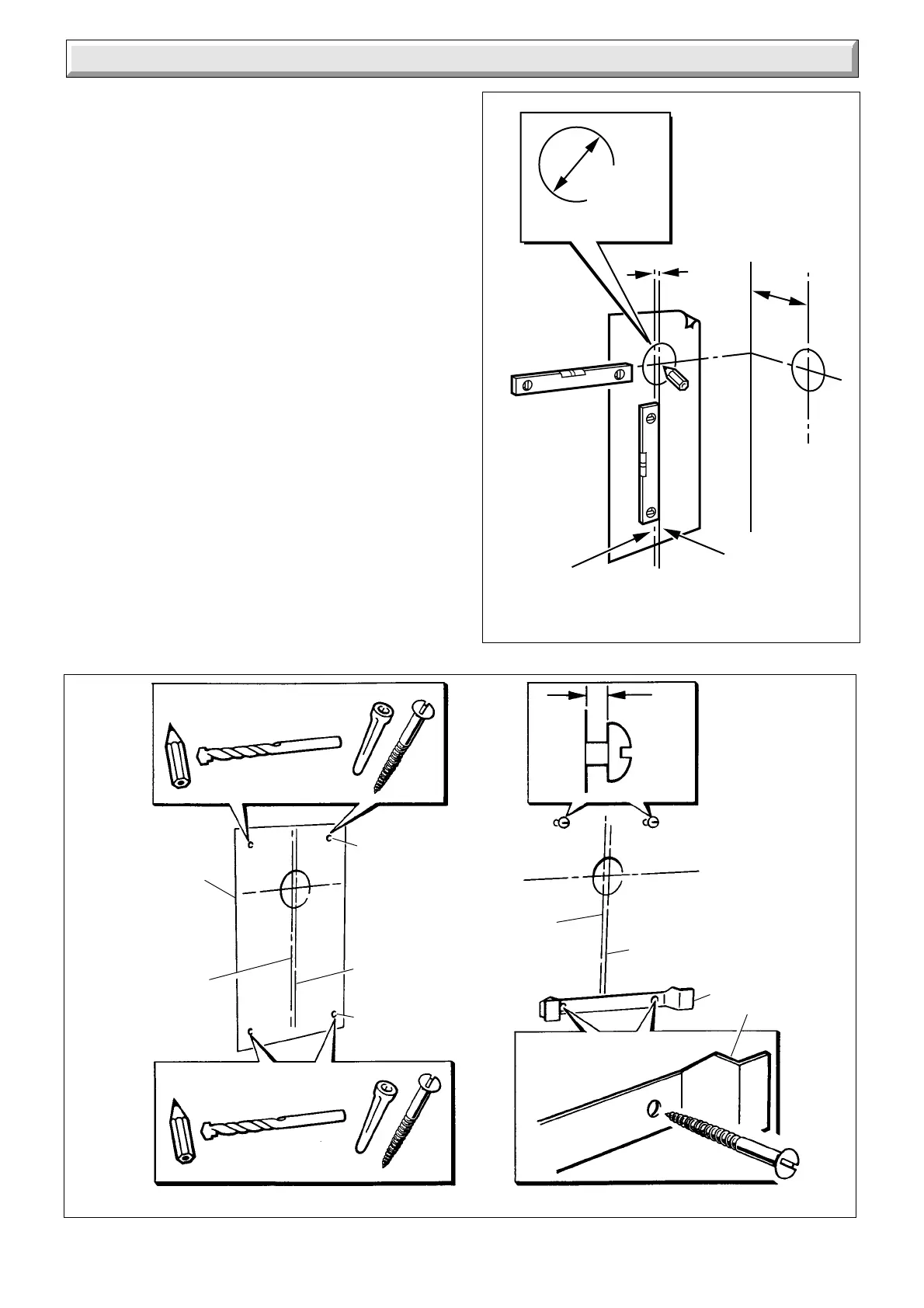
4 Flue and Appliance Preparation
Diagram 4.4
SIDE FLUE
REAR FLUE
75mm
115mm
MINIMUM
HOLE
0098M
BOILER
CENTRE LINE
FLUE
CENTRE LINE
14mm
4.3 Flue Preparation
All flue assemblies are designed for internal installation (optional
wall liner is required), given that there is sufficient clearances
opposite to the flue for the installation of the flue.
If there is insufficient clearance the flue can be installed from
outside.
For a wall thickness up to 300mm, provided that there is
sufficient space and the optional wall liner kit is used the flue can
be fully installed from the inside.
For a wall thickness of over 300mm the external flue hole will
need to be made good from the outside. This applies also if you
use the flue kit without the optional kit, irrespective of wall
thickness.
4.4 Rear and Side Flue Application
Select the boiler location and flue application, with due regard
to the terminal position.
Take the template from the boiler pack and temporarily position
it on the wall, making sure that the minimum clearances are
maintained, see diagram 1.2.
For a rear flue mark the position of the flue as diagram 4.4.
For a side flue, extend the centre line horizontally left or right to
the corner of the adjacent surface where the flue is required to
exit to outside. Mark the position of the centre of the flue and
boiler, as diagram 4.4.
4.5 Flue Hole Cutting
Having marked out the flue centre cut a hole for the flue using,
preferably, a 115mm minimum core drill.

Related product manuals