EasyManua.ls Logo

GOEBEL GO-RN1 - Part List (See Fig. B)

GOEBEL GO-RN1
23 pages
Print Icon
To Next Page IconTo Next Page
To Next Page IconTo Next Page
To Previous Page IconTo Previous Page
To Previous Page IconTo Previous Page
Loading...
2 | Deutsch7 | English
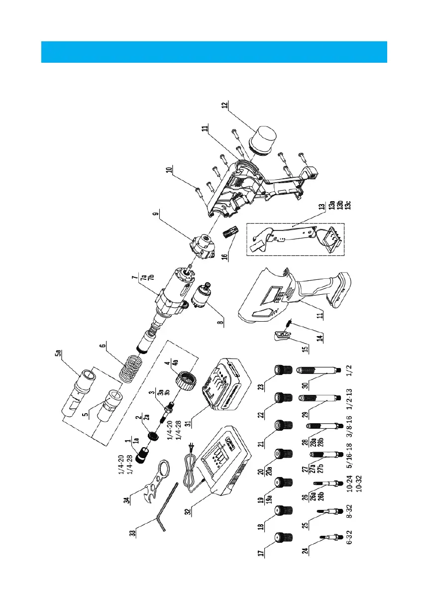
Abb. B
Abb. B
1.3 Part list (Fig. B)
www.goebelfasteners.com

Related product manuals