EasyManua.ls Logo

GOMspace NanoPower P60 Dock - Overview

Default Icon
23 pages
Print Icon
To Next Page IconTo Next Page
To Next Page IconTo Next Page
To Previous Page IconTo Previous Page
To Previous Page IconTo Previous Page
Loading...
NanoPower P60 Dock
July 14, 2017
gs-man-nanopower-p60-dock-2.1
3. Overview
The P60 Dock can be operated through the Cubesat Space Protocol (CSP) over CAN, I
2
C or serial port. This
integrates well with other GomSpace products, and GomSpace provides a client library for commanding the P60
Dock from other systems running CSP. Refer to the Client API page for documentation of the client library API.
For integration and testing purposes, a command line interface is also available as explained in Command
Interface. The command line interface uses the client API internally, so command names generally reflects the
API function names.
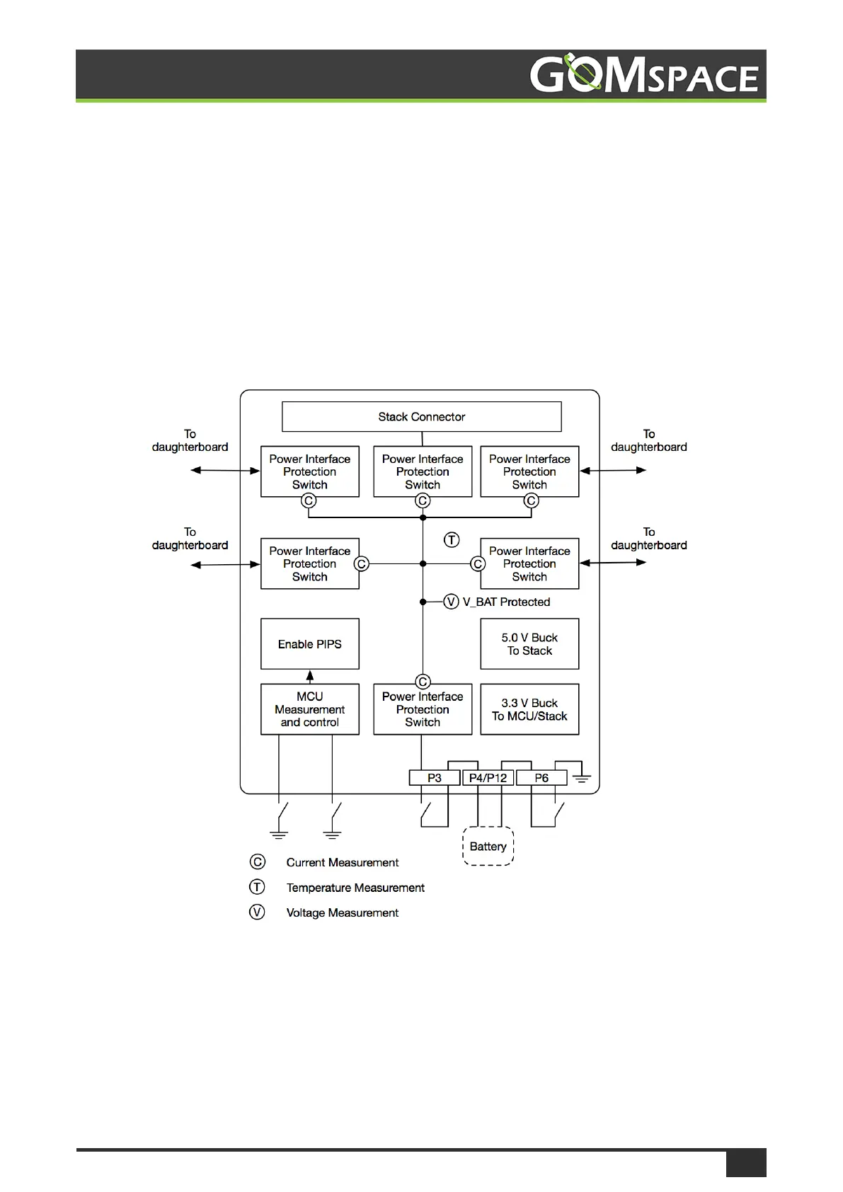
The block diagram below shows the different P60 Dock modules.
Fig. 3.1: P60 Dock Block Diagram
© 2016 GomSpace Aps
5