EasyManua.ls Logo

Grace Digital Grace Link - Remote Control

Grace Digital Grace Link
46 pages
Print Icon
To Next Page IconTo Next Page
To Next Page IconTo Next Page
To Previous Page IconTo Previous Page
To Previous Page IconTo Previous Page
Loading...
9
Introduction
Grace Link User Guide
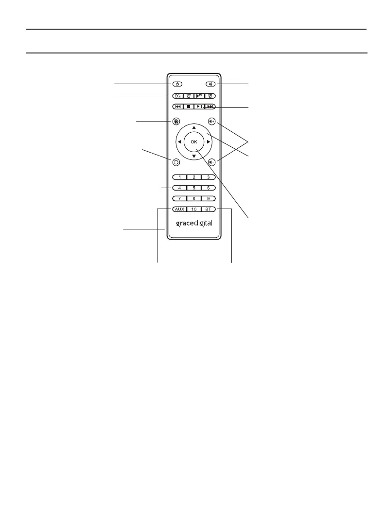
Remote Control
NOTE: Volume control works for analog audio output. Digital output is a fixed line output as it bypasses our internal
DAC to provide a pure digital signal, so you must use your stereo for volume control for the digital input signal.
Power/Standby Button
Press to turn On/Standby.
EQ, Alarm, Sleep, Snooze
Back Button
Press to return back to the previous
display screen.
Line in Button
Select Line in as audio source.
Bluetooth Button
Select Bluetooth as audio source.
Home Button
Press to display the Home screen.
1-10 Number Buttons
Press and hold to set the station you
are currently listening to. Press to play a
previously saved station. See "My Stu
Folder, Web Portal Registration (Optional)"
to save more favorite stations.
Battery Replacement
The Remote Control uses two
AAA batteries.
Mute Button
Press to silence the audio.
Arrow Buttons
Press in a menu or user input screen
to scroll through and highlight menu
items and choices.
Vol+/Vol- Buttons
Press to increase or decrease the
audio volume.
Play/Pause Button
Press to pause or resume playing.
(Limited Support)
Select (OK) Button
When the radio is on the Now
Playing screen - press and hold
the OK button to access and save
presets 1-100, as well as to access
the extra menus on the bottom of
the Now Playing screen for SiriusXM,
Pandora services, and various other
services available.

Related product manuals