EasyManua.ls Logo

Graco 220-240 - Installing & Removing a Roller Cover; Cleaning the Roller Diffuser

Graco 220-240
20 pages
Print Icon
To Next Page IconTo Next Page
To Next Page IconTo Next Page
To Previous Page IconTo Previous Page
To Previous Page IconTo Previous Page
Loading...
7
307–760
MAINTENANCE
Installing
and Removing a Roller Cover
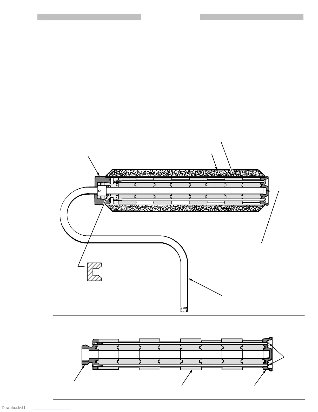
(See Fig 4)
1.
To install a cover, hold the dif
fuser and unscrew the
retainer
nut. Slide the cover over the dif
fuser assem
-
bly
and reinstall the nut. Do not overtighten the nut.
2.
To remove a cover, hold the cover and unscrew the
retainer nut. Slide the cover and diffuser assembly
off the roller frame. Press on the end of the diffuser
assembly
to separate it from the cover
.
Cleaning the Roller Diffuser
(See Fig 5)
1. For water base paint (latex), vigorously shake the
diffuser
in a pail of hot soapy water
to remove undried
paint. For oil–base paint, use mineral spirits. Use a
soft
brass bristle brush to remove dried paint.
2.
To
clear an obstruction in the frame, or for more thor
-
ough
cleaning,
remove the setscrew
. Be sure to rein
-
stall
it after cleaning.
3.
Disassemble if further cleaning is needed.
a.
Remove
the
two screws. Pull of
f the outside end
cap. Disassemble all parts and clean thoroughly
in
water or mineral spirits.
b.
Install the inside end cap on the frame. Lightly
grease
the u-cup seal with
petroleum jelly
. Slide
the diffusers onto the roller frame. Twist and
press
the
last dif
fuser to snap the pieces togeth
-
er.
c.
Install the outside end cap and the two screws.
Holding
the
inside end cap, press on the screws
and
rotate the dif
fusers to seat
the screws. T
ight-
en
the screws evenly into the inside end cap. Be
sure there is no binding and that the diffusers
move
freely
.
Fig 4
U-CUP
SEAL
Grease lightly with petroleum jelly
Lips of seal must face diffuser
FRAME
DIFFUSER
SETSCREW
COVER
NUT
Fig
5
OUTSIDE
END CAP
SCREW
DIFFUSER
INSIDE END CAP
ÉÉÉ
ÉÉÉ
ÉÉÉ
ÉÉÉ