EasyManua.ls Logo

Graco Fire-Ball 300 - Fire-Ball 425

Graco Fire-Ball 300
34 pages
Print Icon
To Next Page IconTo Next Page
To Next Page IconTo Next Page
To Previous Page IconTo Previous Page
To Previous Page IconTo Previous Page
Loading...
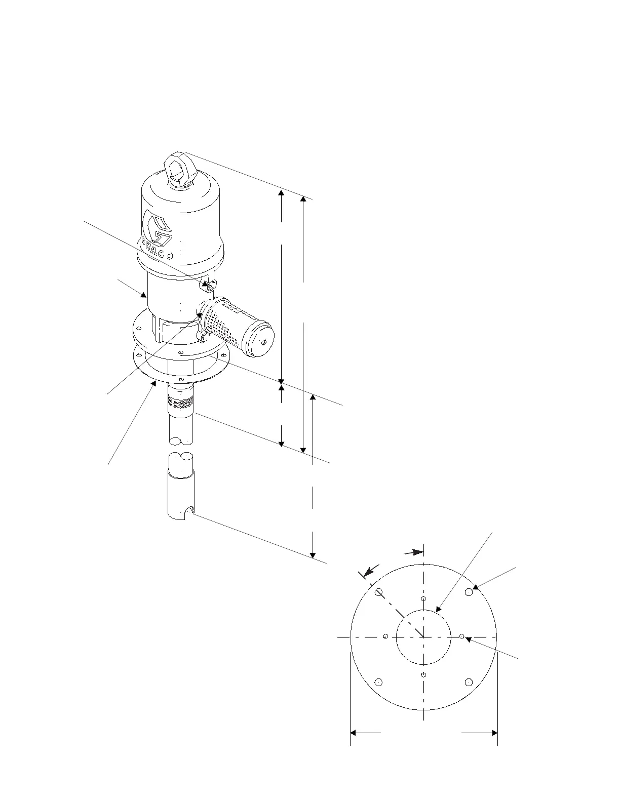
Dimensions
Installation and Operation 33
Fire-Ball 425
45_
M
o
d
e
l
205626
Universal
Mounting Hole Layout
3/4 in npt
muffler port
1/2 in. npt
air inlet
3/4 in. npt
fluid outlet
06035
Four 0.406-in.
(1.03 cm)
diameter holes
on 7-in. (17.8
cm) bolt circle
Note: For
sealed tank
mounting use
gasket 192658.
Model
205626
25.8 in.
(65.5 cm)
18.4in.
(46.7 cm)
7.4 in.
(18.8 cm)
Model 222065
32.3 in. (82 cm)
Model 222095
36.6 in. (92.9 cm)
45°
Four threaded
holes on bottom
of air motor base
are 1/4-20 UNC
on 4.25-in. (10.8
cm) bolt circle.
8.0-in. (20.3 cm)
diameter of flange
2.25-in. (5.7 cm)
diameter clearance hole

Other manuals for Graco Fire-Ball 300

Related product manuals