EasyManua.ls Logo

Graco ProBell - Cart Kit 24 Z225

Graco ProBell
22 pages
Print Icon
To Next Page IconTo Next Page
To Next Page IconTo Next Page
To Previous Page IconTo Previous Page
To Previous Page IconTo Previous Page
Loading...
Parts
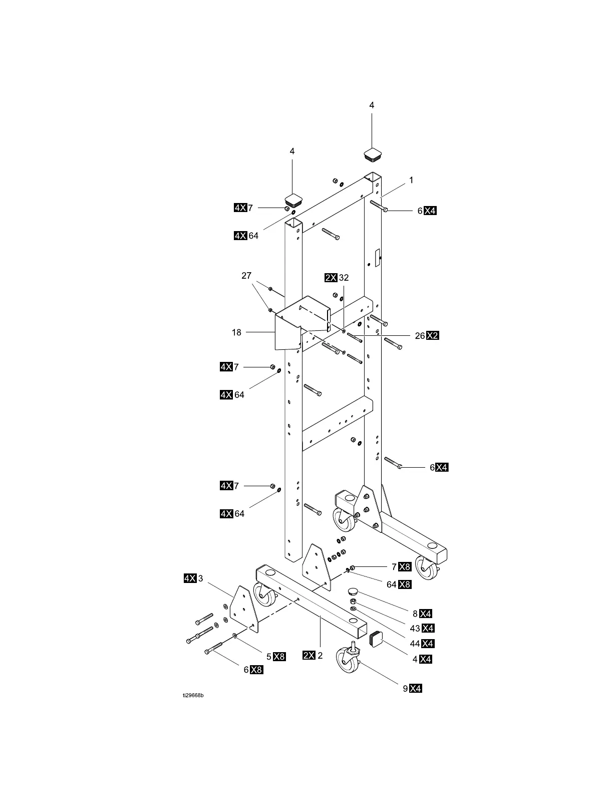
Cart Cart
Cart
Kit Kit
Kit
24Z225 24Z225
24Z225
3A4232D
17

Other manuals for Graco ProBell

Related product manuals