EasyManua.ls Logo

Gree GPC09AI-K3NNC6D - Mise en Service

Gree GPC09AI-K3NNC6D
122 pages
To Next Page IconTo Next Page
To Next Page IconTo Next Page
To Previous Page IconTo Previous Page
To Previous Page IconTo Previous Page
Loading...
4. Mise en service
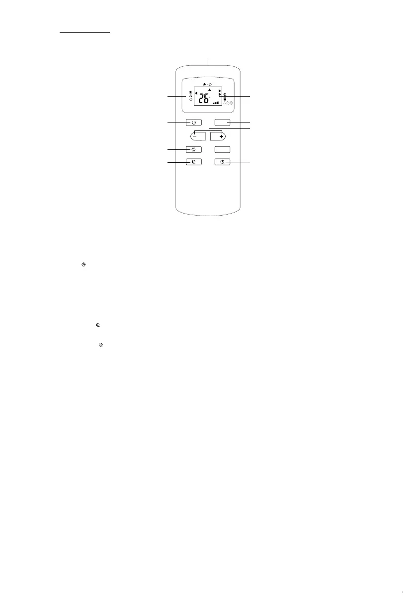
• Télécommande
MODE
C
OPER
AUTO
A
B
C
D
EF
G
H
I
A. Émetteur du signal
B. Affi chage de la température et du minuteur
C. Touche de sélection du mode MODE
Choisissez le mode de fonctionnement du climatiseur parmi les modes COOL (refroidissement), DRY (séchage) et FAN (ventilateur).
D. ouche de sélection de la température
Appuyez sur les touches « + » et « - » pour régler la température entre 16°C et 30°C.
E Touche TIMER
Appuyez sur la touche pour régler le temps de marche et d’arrêt.
Lorsque l’appareil est éteint, appuyez sur la touche pour activer la fonction minuteur pour la mise en marche. Appuyez sur les touches « + » et « - » pour
régler l’échéance de mise en fonctionnement entre 0,5 et 24 heures. Appuyez ensuite sur la touche TIMER pour confi rmer le réglage. L’appareil s’allume à
l’échéance établie.
Lorsque l’appareil est allumé, appuyez sur la touche pour activer la fonction minuteur pour l’arrêt. Appuyez sur les touches « + » et « - » pour régler
l’échéance de mise à l’arrêt entre 0,5 et 24 heures. Appuyez ensuite sur la touche TIMER pour confi rmer le réglage. L’appareil s‘éteint à l’échéance établie.
Après le réglage du minuteur, la température s’affi chera sur l’écran LCD de la télécommande. Afi n de vérifi er le réglage du minuteur, appuyez une fois sur la
touche TIMER. Pour annuler le minuteur, appuyez deux fois de façon rapide sur la touche TIMER.
F. Touche repos SLEEP
En mode refroidissement COOL et en mode séchage DRY, appuyez sur cette touche pour sélectionner la fonction repos avec une température ambiante
agréable et pour économiser l’énergie.
G. Touche ventilateur FAN
Appuyez sur la touche pour régler la vitesse du ventilateur.
H. Touche marche/arrêt ON/OFF
Appuyez sur la touche pour allumer ou éteindre l’appareil.
I. Écran LCD
Remarques sur le choix du mode de fonctionnement avec la télécommande :
a.Mode AUTO
Appuyez sur la touche marche/arrêt ON/OFF pour allumer le climatiseur.
Appuyez sur la touche de sélection du mode MODE pour choisir le mode automatique.
Avec ce mode, le climatiseur sélectionne automatiquement le mode de fonctionnement selon la température ambiante.
b. Mode refroidissement COOL
Appuyez sur la touche marche/arrêt ON/OFF pour allumer le climatiseur.
Appuyez sur la touche de sélection du mode MODE pour sélectionner le mode refroidissement COOL.
Appuyez sur les touches « + » et « - » pour régler la température ambiante.
Appuyez sur la touche ventilateur FAN pour régler la vitesse du ventilateur.
c. Mode séchage DRY
Appuyez sur la touche marche/arrêt ON/OFF pour allumer le climatiseur.
Appuyez sur la touche de sélection du mode MODE pour sélectionner le mode séchage DRY.
d. Mode ventilateur FAN
Appuyez sur la touche marche/arrêt ON/OFF pour allumer le climatiseur.
Appuyez sur la touche de sélection du mode MODE pour sélectionner le mode ventilateur FAN.
Appuyez sur la touche ventilateur FAN pour régler la vitesse du ventilateur.
e. Appuyez simultanément sur les touches « + » et « - » pour bloquer la télécommande.
Appuyez simultanément sur les touches « + » et « - » pour débloquer la télécommande.
8

Related product manuals