EasyManua.ls Logo

Greenheck Vari-Green Control - Control Unit Mounting and Wiring; Wall Mount Procedure; Control Unit Placement and Wiring

Greenheck Vari-Green Control
8 pages
Print Icon
To Next Page IconTo Next Page
To Next Page IconTo Next Page
To Previous Page IconTo Previous Page
To Previous Page IconTo Previous Page
Loading...
4
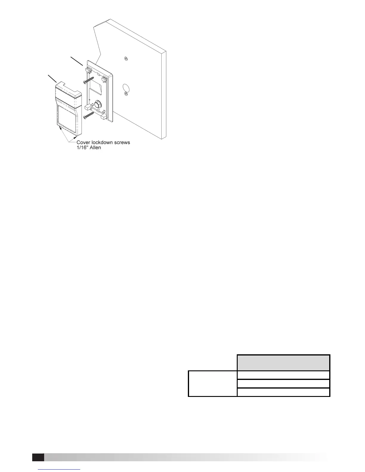
Wall Mount
1. Using a 1/16” Allen wrench, separate the mount-
ing base and the cover by driving in the 1/16
Allen screws until the cover comes free. Driving
the screws in prevents you from losing them.
2. Drill a ¾” hole in the drywall to relieve the
pressure tting where the pressure tap is to be
installed.
3. Place the mounting base pressure tting in the
¾” hole and align the mounting base to the wall.
4. Using a pencil mark out the two mounting holes
on the wall.
5. Drill two 3/16” holes in the center of each
marked mounting hole. Insert a drywall anchor
into each hole.
6. Pull the pressure tubing through the wall and out
of the 3/4” hole, leaving about two inches free.
7. Secure the pressure tubing to the pressure
tting.
8. Secure the base to the drywall anchors using the
#6 x 1 inch mounting screws provided.
9. Attach Cover by latching it to the top of the base,
rotating the cover down and snapping it into
place.
10. Secure the cover by backing out the lock-down
screws using a 1/16” Allen wrench until they are
ush with the bottom of the cover.
Constant Pressure Control
The Constant Pressure Control contains an
integral pressure transducer.
Mount the Constant Pressure Control box in
an accessible location as close as possible to
the pressure tap and fan. Keep wiring lengths
between the Constant Pressure Control and the
fan to 200 feet or less. Keep pressure tubing
lengths between the Constant Pressure Control
and the pressure taps to 100 feet or less.
Mount the Constant Pressure Control in the
vertical position with the tubing connectors in the
down position.
One Duct Tap – Maintains constant pressure
in duct based upon space pressure where the
Constant Pressure Control is mounted – Connect
the “H” tubing connector on the Constant
Pressure Control to the pressure tap using 1/4-
inch tubing. The “L” tubing connector remains
open to atmosphere.
Two Duct Taps – Maintains a constant differential
pressure across a lter, heating or cooling
coil, damper or other restriction in the duct
- Connect the “H” tubing connector on the
Constant Pressure Control to the pressure tap
on the high pressure, upstream, side of the duct
restriction using 1/4-inch tubing. Connect the
“L” tubing connector on the Constant Pressure
Control to the pressure tap on the low pressure,
downstream, side of the duct restriction using
1/4-inch tubing.
One Room Tap – Maintains constant pressure in
a room based upon space pressure where the
Constant Pressure Control is mounted – Connect
the “H” tubing connector on the Constant
Pressure Control to the pressure tap using 1/4-
inch tubing. The “L” tubing connector remains
open to atmosphere.
Two Room Taps – Maintains a constant
differential pressure between two rooms, allowing
the Constant Pressure Control to be mounted
in a remote location - Connect the “H” tubing
connector on the Constant Pressure Control to
the pressure tap in the high pressure room using
1/4-inch tubing. Connect the “L” tubing connector
on the Constant Pressure Control to the pressure
tap in the low pressure room using 1/4-inch
tubing.
Make sure there are no kinks or punctures in the
tubing.
Wiring
See diagram on page 7 for wiring overview.
Control Box to Factory Mounted Transformer
Control Input
Optional Remote Override:
Connect a normally-open switch between terminals
J3+ and J3- on the controller. Closing this switch will
activate the remote override feature. Opening the
switch will de-activate the override.
Controller
Terminal
Transformer
Control Input
J1 – POWER to 24V
J1 – GROUND to COM
J1 - OUTPUT to 0-10V
Low-voltage
control wiring
Wall Mount
Mounting Plate
Cover

Related product manuals