EasyManua.ls Logo

Greenlee 847 - Exploded View

Greenlee 847
12 pages
Print Icon
To Next Page IconTo Next Page
To Next Page IconTo Next Page
To Previous Page IconTo Previous Page
To Previous Page IconTo Previous Page
Loading...
Greenlee Textron / Subsidiary of Textron Inc.
10
4455 Boeing Dr., Rockford, IL 61109-2988 815/397-7070
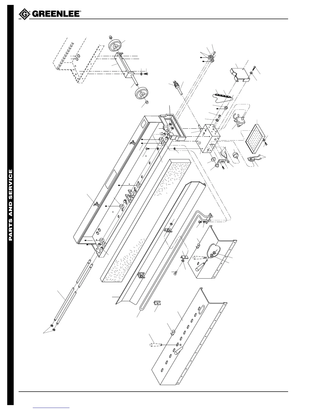
PVC Heaters for PVC Conduit
Exploded View
6
5
2
9
11
3
9
10
10
7
8
11
1
12
15
14
16
4
17
18
46
10
26
24
10
45
42
37
38
39
41
37
43
44
47
15
(847 only)
36
34
29
30
31
3
10
25
33
32
35
40
27
28
20
9
10
22
21
23

Related product manuals