EasyManua.ls Logo

Guardian 928 - Assembly

Guardian 928
26 pages
Print Icon
To Next Page IconTo Next Page
To Next Page IconTo Next Page
To Previous Page IconTo Previous Page
To Previous Page IconTo Previous Page
Loading...
www.adhguardianusa.com
*THE HEX SCREWS ARE INCLUDED
INSIDE THE HARDWARE BAG
Hex Screw
#8-32’ (2)
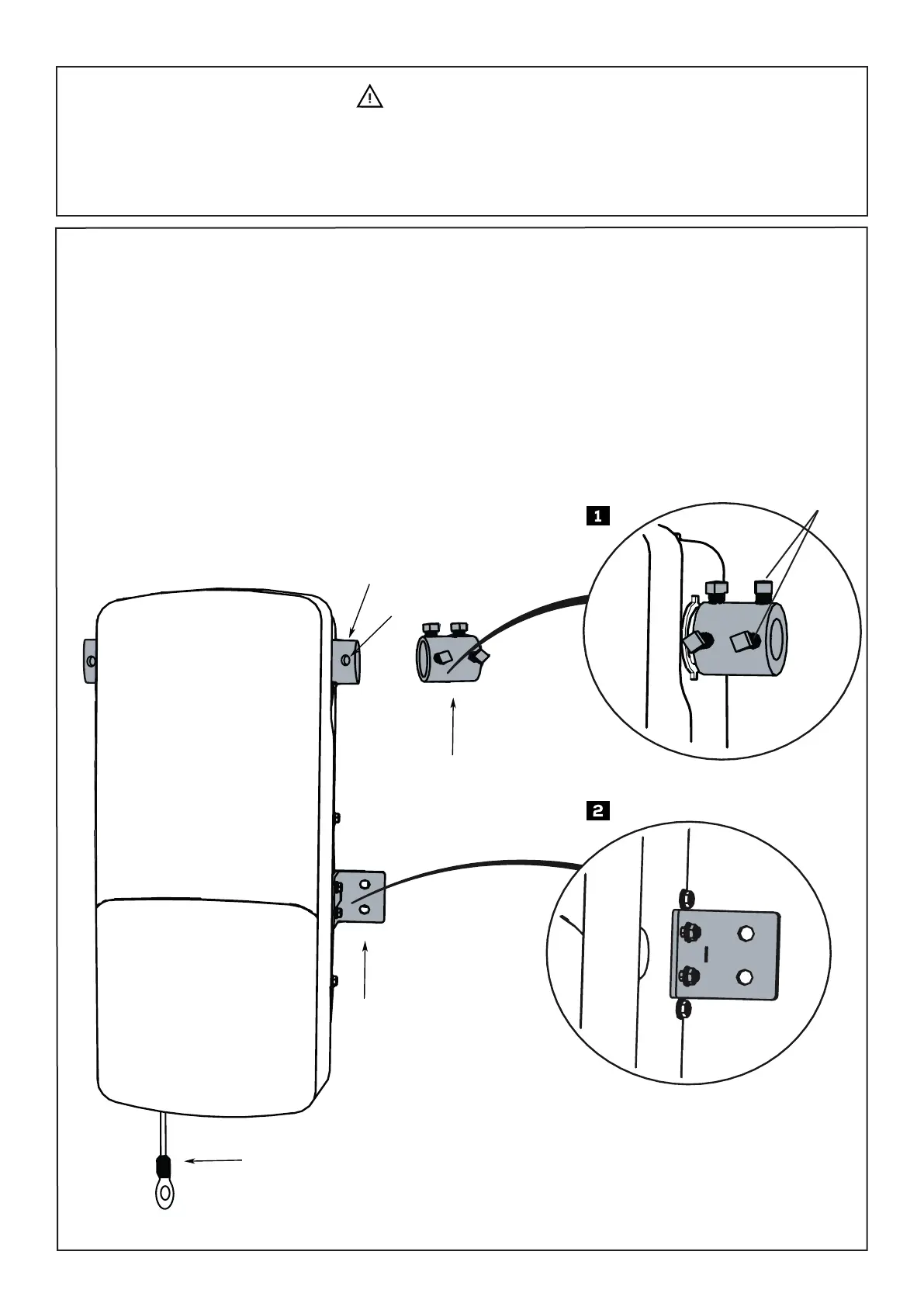
WARNING
To prevent possible SERIOUS INJURY or DEATH, the collar MUST be properly tightened.
The door may NOT reverse correctly or limits may be lost due to collar slip.
1. Attach collar to the drive shaft assembly, align one of the set screws to the drive shaft hole. Notice that the side of the
collar with the larger hole must be placed on the drive shaft, seated all the way on drive shaft assembly.
Securely tighten the 2 square head set screws closest to the motor shaft by turning the screws 1/4 - 1/2 turn after
making contact with the motor shaft, use a 3/8” wrench or ratchet with a square 3/8” (1.3 cm) or a 7/16” 12-point socket.
Make sure the screws are facing up and towards you, pull the manual release cable to disengage the motor clutch and
rotate the drive shaft manually. Pull the emergency release to lock the motor again.
2. Position the mounting bracket on the same side of collar. The mounting bracket may be t on the opposite side if
there is room. Screw the slotted side of the mounting bracket to the side panel leaving it a little loose.
Assembly
Set screws
Drive Shaft Hole
Manual Release
Cable
Drive Shaft Assembly
Mounting
Bracket
Collar