EasyManua.ls Logo

Guardian 928 - Installing Door Lock

Guardian 928
26 pages
Print Icon
To Next Page IconTo Next Page
To Next Page IconTo Next Page
To Previous Page IconTo Previous Page
To Previous Page IconTo Previous Page
Loading...
www.adhguardianusa.com
A second door lock (Service Lock GU-LOCK2) can be installed on the other side of the door per the instructions above.
Use the 26´ (8m) extension cable (GU-LOCKX) for the opposite side lock mount. See Replacement Parts in the back of the
manual.
1/4-20 x 1/2’ (2)
TO
P
DRIL
L
5/16”
DRIL
L
5/16”
DRIL
L
3/4
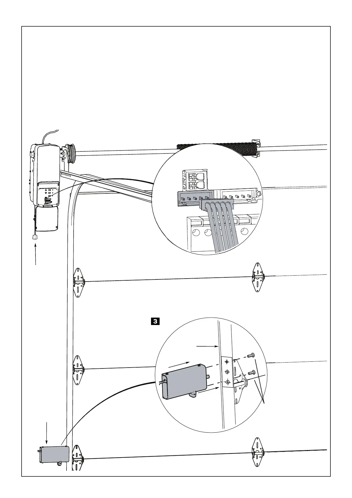
Installing Door Lock
The automatic door lock (GU-LOCK2) prevents manual operation of the door when fully closed.
1. The lock must be mounted on the same side as the opener and within 10 ft (3.05m) max of the operator. Measure 3 in.
above the second roller from the bottom. Clean the outside of the track. Attach template and drill holes as shown on the
template.
2. Fasten door lock to the outside of garage door track with M6 x 20 mm (2) Phillips screws (provided).
3. Run wire up wall to garage door opener. Use insulated staples to secure wire.
4. Insert wire through the bottom of the garage door opener and plug the connector into a lock port on the garage door
opener. Either connector port may be used.
Manual
Release
Cord
Door Lock
M6 x 20 mm (2)
CABLE
MONITOR
LOCK
Lock
Template
Door Track