EasyManua.ls Logo

Haier AB242ACAAA - Air Filter

Haier AB242ACAAA
24 pages
Print Icon
To Next Page IconTo Next Page
To Next Page IconTo Next Page
To Previous Page IconTo Previous Page
To Previous Page IconTo Previous Page
Loading...
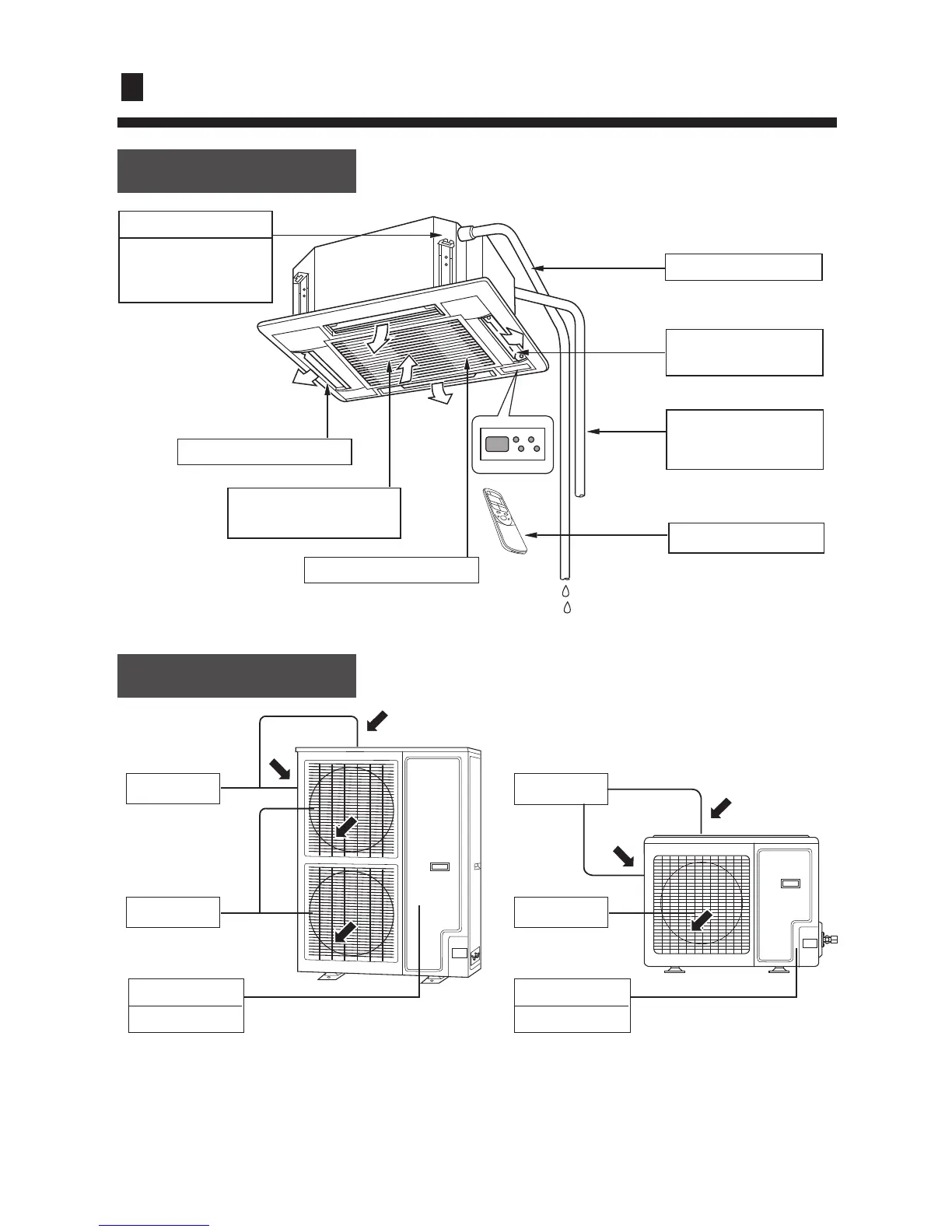
INTRODUCTION TO SPARE PARTS
INDOOR UNIT
OUTDOOR UNIT
Drain Hose
Swing fender
Refrigerant pipe
Cable line
Earthing line
Air filter
Outlet
Suction grill
(located in the suction grill)
In cooling operation,to
discharge the water
from inside the room.
Discharge unit (built in)
(located in the outlet)
Remote Controller
8
Air inlet
Air outlet
(Inside of unit)
Compressor
Air inlet
(Inside of unit)
Compressor
Air outlet
For series 36, 42 For series 24, 28

Related product manuals