EasyManua.ls Logo

Handicare 2000 - Page 34

Handicare 2000
36 pages
Print Icon
To Next Page IconTo Next Page
To Next Page IconTo Next Page
To Previous Page IconTo Previous Page
To Previous Page IconTo Previous Page
Loading...
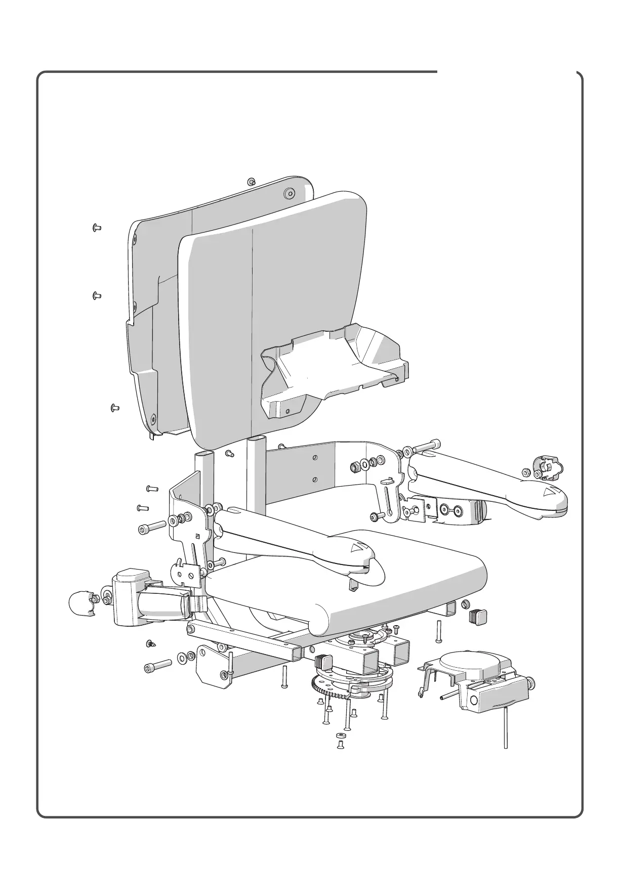
SPAREPARTS
STYLE SEAT
32 USER MANUAL

Other manuals for Handicare 2000

Related product manuals