EasyManua.ls Logo

Harman Home Heating Accentra Insert - Automatic Ignition;Operation

Default Icon
48 pages
Print Icon
To Next Page IconTo Next Page
To Next Page IconTo Next Page
To Previous Page IconTo Previous Page
To Previous Page IconTo Previous Page
Loading...
The Accentra Insert is more than just automatic ignition, it is also automatic temperature
control. The automatic system will allow the re size to be adjusted to match the
heating needs and even put the re out if necessary. If heat is needed after the re is
out, the Accentra Insert will automatically re-ignite and adjust the re size to match the
heating need. The totally automatic room sensor mode is recommended because of its
efciency. The unit can be switched between "AUTO" and "MANUAL" at any time during
operation.


In "Room Temp Mode" heat output is controlled auto-
matically by the Room Sensing Probe. When the Room
Sensing Probe calls for heat, the stove will increase out-
put. When the Room Sensing Probe is getting close to
the set temperature, the stove will begin to level off output
and keep the re burning at just the right temperature to
maintain that setting.
High output is determined by the feed rate setting. This
setting, generally on #4, can be increased if higher burn
rates are necessary (Fig. 1). The unit's maximum burn
rate should not create less than 1" of ash on the burn
pot front edge(See Fig.2). Overfeeding is not a safety
concern, but fuel may be wasted if unburned pellets fall
into the ash pan.
In "Room Temp Mode" a constant fuel consumption
rate is sacriced for exact room temperature. Therefore,
as it gets colder more pellets will be burned automati-
cally.
The distribution blower speed will vary according to the
position of the mode selector pointer, and re size.


This allows for automatic ignition upon start-up only.
The unit can then be set at any desired setting. The
heat output and fuel consumption will remain constant
regardless of room temperature (See Fig 4). The unit's
maximum feed rate should not create less than 1" of ash
on the burn pot front edge. See Fig 2.
The unit's low burn or maintenance setting is as low
as it will go. It will not go out unless it runs out of fuel or
is turned off.

To kill the re or stop burning the stove, turn the Mode
Selector to "OFF". This will cause the re to diminish and
burn out. When the re burns out and the stove cools
down everything will stop.
If you pull the plug to shut down the stove, all motors
will stop. This may cause incomplete combustion and
smoke in the rebox. If the load door is opened, the
smoke may escape.
The best way to shut down the stove is simply let it
run out of pellets, then the stove will shut down automati-
cally.

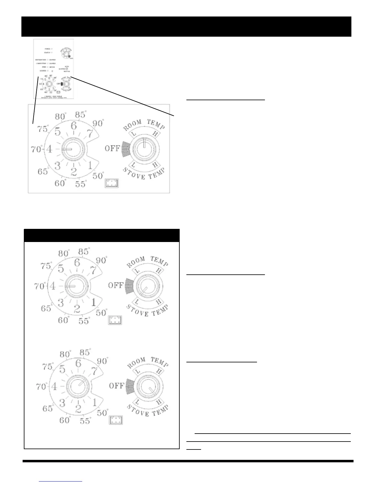
Fig. 4
Room Temperature Mode: This setting will produce a room temperature
of 70 degrees with the distribution blower at medium speed.
This setting will produce medium heat with the
distribution blower on "low".
This setting will produce continuous maximum heat
output with the distribution blower at full speed.

Fig. 3

Related product manuals