EasyManua.ls Logo

Heathkit IB-5281 - Page 57

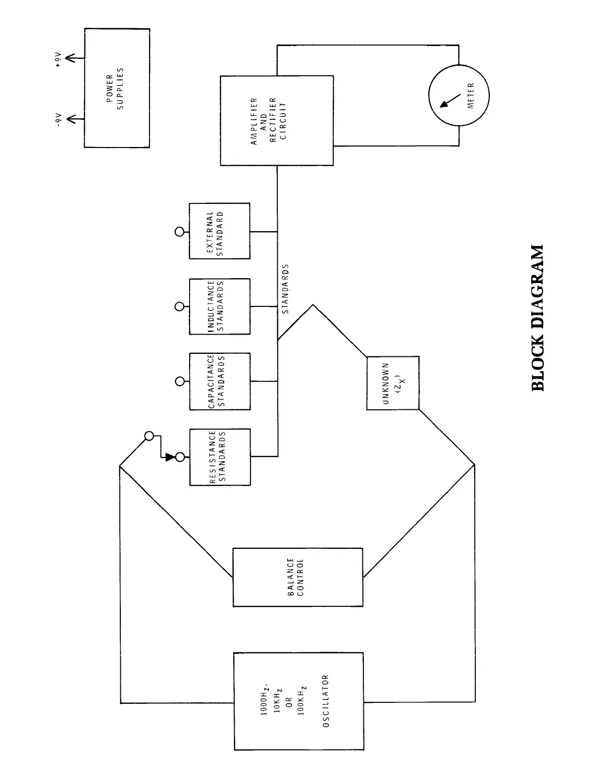
Heathkit IB-5281
65 pages
Print Icon
To Next Page IconTo Next Page
To Next Page IconTo Next Page
To Previous Page IconTo Previous Page
To Previous Page IconTo Previous Page
Loading...
WVadoVId
MOOTH
i
Ydlaw
/
\
NMONYNN
YOLVIII9SO
1OYNLNOD
74001
Linoyld
SY
VONVLS
\
JONWIWa
40
Yal4asLoga
ee
ZuOL
anv
'Z
yaldiidwy
HOOOT
—_——_———
dYVONWLS
SGUVONYIS
SQYVONVIS
SGUVONWLS
TWNY4LXG
JONVIONAINI
JONVLIOWd¥9
JONWLSIS3Y
=
Sdliddas
ydmMod
—b
Abt
A6-