EasyManua.ls Logo

HELI CPCD 30 - Page 40

Default Icon
98 pages
Print Icon
To Next Page IconTo Next Page
To Next Page IconTo Next Page
To Previous Page IconTo Previous Page
To Previous Page IconTo Previous Page
Loading...
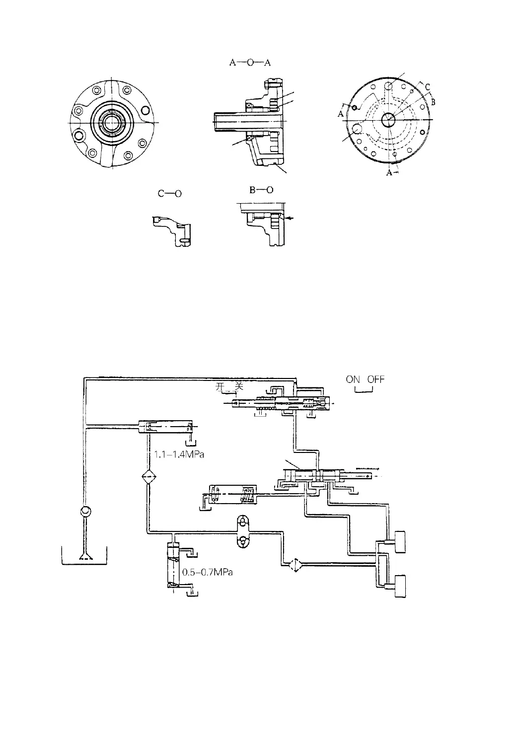
Fig.4-6 Charging pump
4.7 Hydraulic Circuit(Hydrodynamic Transmission Type Drive Unit)(See Fig.4-7)
After the engine is started, the charging pump inhales the oil from the oil tank
(i.e. transmission case). The pressure oil from the pump serves two parts for hydraulic
clutches and torque converter.
Fig.4-7 Hydraulic circuit
The oil necessary to operate the hydraulic clutches is divided into two circuits
through the pressure valve (set pressure of 1.1-1.4MPa): one circuit flowing to the
torque converter via. a relief valve (set pressure of 0.5-0.7MPa) and another to the
Oil sealing
Pump body
Oil discharging hole
Driven gear
Driving gear
Oil inlet
hole
O-ring
Torque converter oil inlet hole
Relief valve
Backward clutch
Forward clutch
Oil filter
Oil charging pump
Oil cooler
Pressure valve
Inching valve
Operating slide valve
Adjusting valve
Backward neutral forward
Tor-con
Oil filter
-38-

Related product manuals