EasyManua.ls Logo

Hewi 900 - Seite 19

Hewi 900
36 pages
Print Icon
To Next Page IconTo Next Page
To Next Page IconTo Next Page
To Previous Page IconTo Previous Page
To Previous Page IconTo Previous Page
Loading...
HEWI | 19
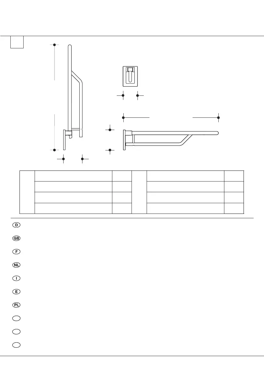
B
130 mm
195
mm
A
B
181
mm
A
950.50.11... | 31... | 61... | 71...
695 mm
B
950.50.11... | 31... | 61... | 71...
600 mm
950.50.12... | 32... | 62...
795 mm
950.50.12... | 32... | 62...
700 mm
950.50.13... | 33... | 63...
945 mm
950.50.13... | 33... | 63...
850 mm
950.50.14... | 64...
995 mm
950.50.14... | 64...
900 mm
Technische Daten | Technical data | Caractéristiques techniques | Technische gegevens
Dati tecnici | Datos técnicos | Informacje techniczne | Tekniske data | Teknisk informasjon
Tekniska data
Material: tillverkad i polyamid av hög kvalitet med korrosionsbeständig stålkärna,
monteringsplatta av stål med kåpa av polyamid av metall, med högkvalitativ förkromning |
Materialien: aus hochwertigem Polyamid mit durchgehendem, korrosionsgeschütztem Stahlkern,
Wandplatte aus Stahl mit Abdeckung aus Polyamid | aus Metall, hochwertig verchromt
Materials: made of high-quality polyamide with continuous, corrosion-protected steel core,
wall mounting plate made of steel with polyamide cover | made of metal, high-quality chrome-plated
Matériaux: en polyamide de haute qualité, avec cœur en acier protégé contre la corrosion,
plaque mural en acier avec cache en polyamide | en métal, chromé de haute qualité
Materiaal: van hoogwaardige polyamide, met doorlopende corrosiebeschermde stalen kern,
wandplaat van staal met afdekking van polyamide | van metaal, hoogwaardig verchroomd
Materiali: realizzato in poliammide di alta qualità con nucleo in acciaio continuo e protetto dalla corrosione, pi-
astra a parete in acciaio con copertura in poliammide in metallo, con cromatura di alta qualità | realizzato in metallo,
Materiales: de poliamida de alta calidad con núcleo continuo de acero protegido contra la corrosión,
placa de montaje de acero con cubierta de poliamida | de metal, cromado de alta calidad
Materiały: z wysokiej jakości poliamidu z ciągłym, zabezpieczonym przed korozją rdzeniem stalowym , z plat-
formą ścienną ze stali i nakładką maskującą płytkę z poliamidu | z metalu pokrytego wysokiej jakości chromem
Materialer: fremstillet af polyamid af høj kvalitet med korrosionsbestandig stålkerne,
monteringsplade af stål med afdækning af polyamid af metal, med forkromning af høj kvalitet |
Materialer: laget av polyamid med integrert stålkjerne, deksel laget av forkrommet rustfritt stål,
monteringsplate av stål med polyamiddeksel laget av metall, med krombelegg av høy kvalitet |
DK
N
SE
,

Related product manuals