EasyManua.ls Logo

Hitachi C 10FCE - Page 60

Hitachi C 10FCE
76 pages
Print Icon
To Next Page IconTo Next Page
To Next Page IconTo Next Page
To Previous Page IconTo Previous Page
To Previous Page IconTo Previous Page
Loading...
60
Español
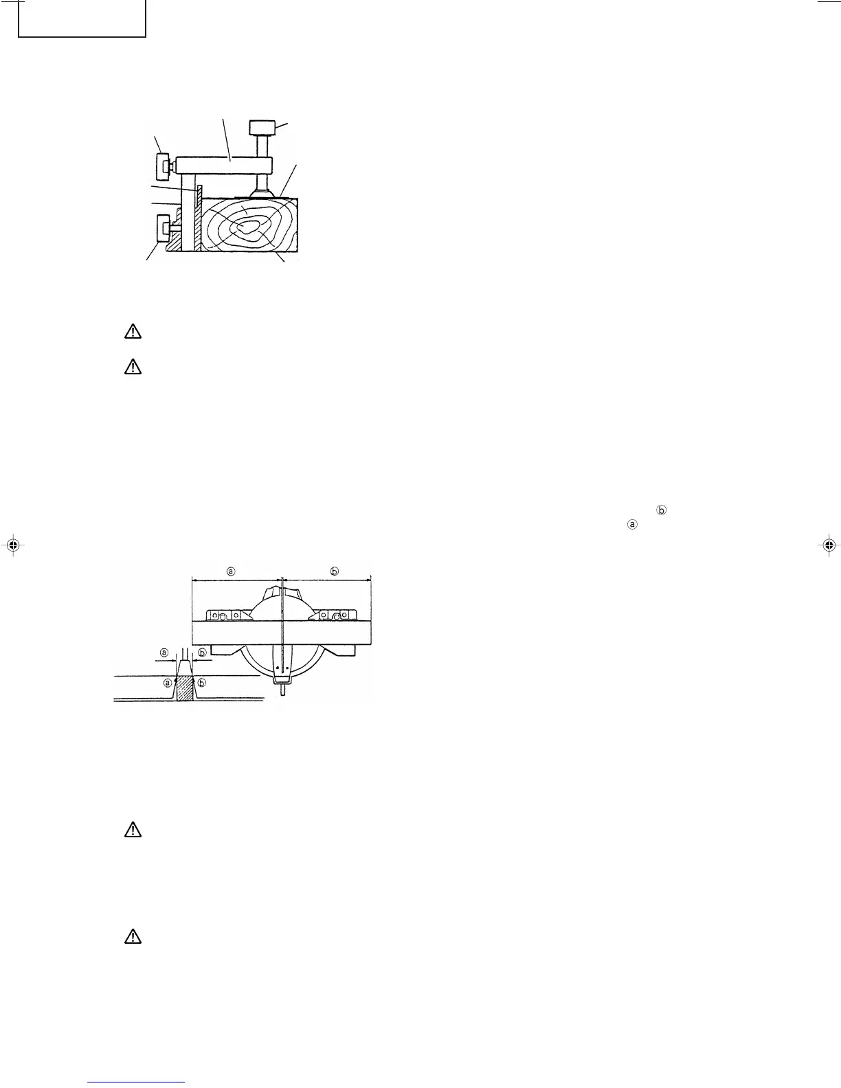
2. Utilización del conjunto de tornillo de corpintero (Accesorio estándar)
(1) El conjunto de tornillo de carpintero puede montarse en la
escuadra de guía izquierda (escuadra de guía (B)) o bien en la
escuadra de guía derecha (escuadra de guía (A)) aflojando el
perno de orejas de 6mm (A).
(2) El portatornillo puede elevarse o bajarse de acuerdo con la altura
de la pieza de trabajo aflojando el perno de orejas de 6mm (B).
Después del ajuste, apriete firmemente el perno de orejas de 6
mm (B) y fije el portatornillo.
(3) Gire la perilla superior y fije firmemente la pieza de trabajo en
su lugar (Fig. 20).
ADVERTENCIA: Siempre sujete firmemente la pieza de trabajo a la escuadra de guía, ya que de
lo contrario podría salirse de la mesa y causar lesiones serias.
PRECAUCIÓN: Confirme siempre que la cabeza del motor (consulte la Fig. 1) no entre en contacto
con el conjunto de tornillo de carpintero cuando descienda para realizar la
operación de corte. Si existe el peligro de que pueda pasar esto, afloje ligeramente
el perno de orejas de 6mm (B) y mueva el conjunto de tornillo de carpintero
hasta una posición en la que no entre en contacto con la hoja de sierra.
3. Operación de corte
(1) Como se muestra en la Fig. 21, la anchura de la hoja de
sierra es la de corte. Por lo tanto, deslice la pieza de
trabajo hacia la derecha (vista desde la posición del
operador) cuando desee la longitud , o hacia la
izquierda cuando desee la longitud .
(Sólo modelo C10FCH)
Si se utiliza un marcador láser, alinee la línea de láser
con el lado izquierdo de la hoja de sierra, y luego alinee
la línea de tinta con la línea de láser.
(2) Cuando la hoja de sierra haya alcanzado la velocidad
máxima, empuje cuidadosamente hacia abajo la
empuñadura hasta que la hoja de sierra se acerque a la
pieza de trabajo.
(3) Cuando la hoja de sierra haya entrado en contacto con
la pieza de trabajo, empuje gradualmente hacia abajo
la empuñadura para cortar dicha pieza.
(4) Después de haber cortado la pieza de trabajo con la
profundidad deseada, desconecte la alimentación de la
herramienta eléctrica y deje que la hoja de sierra se pare
completamente antes de levantar la empuñadura de la
pieza de trabajo para devolverla a su posición de
completamente retraída.
ADVERTENCIA: * Cuando no vaya a utilizar la herramienta, confirme que el interruptor de disparo
esté en OFF y de que el enchufe del cable de alimentación esté desconectado
del tomacorriente.
* Cuando corte la pieza de trabajo, evite realizar cortes más delgados que la
holgura existente entre el borde de corte y la hoja de sierra. De lo contrario, el
material cortado podría penetrar dentro de esta holgura y los fragmentos podría
esparcirse, provocándole lesiones.
PRECAUCIÓN: * El aumento de la presión sobre la empuñadura no aumentará la velocidad de
corte. Por el contrario, la presión excesiva puede resultar en sobrecarga del
motor y/o en reducción de la eficacia de corte.
* Si presiona la empuñadura con una fuerza excesiva o lateral, la hoja de sierra
podría vibrar durante la operación de corte y provocar marcas innecesarias sobre
la pieza de trabajo, perjudicando la calidad del corte. Por consiguiente, cuando
presione la empuñadura hacia abajo, hágalo suavemente y con cuidado.
Fig. 20
Soporte roscado
Perilla
Pieza de
trabajo
Placa del
tornillo de
carpintero
Perno de
mariposa
de 6mm (B)
Escuadra
de guia
Perno de
mariposa
de 6mm (A)
Línea de ajuste
Marca
(previamente realizada)
Marca
(previamente realizada)
(Vista frontal)
Fig. 21
Eje de
tornillo
03sp_c10fsh_e.p65 2/7/04, 21:2160

Table of Contents

Other manuals for Hitachi C 10FCE

Related product manuals