EasyManua.ls Logo

Hitachi DH38MS - Page 26

Hitachi DH38MS
48 pages
Print Icon
To Next Page IconTo Next Page
To Next Page IconTo Next Page
To Previous Page IconTo Previous Page
To Previous Page IconTo Previous Page
Loading...
26
Français
REMARQUE:
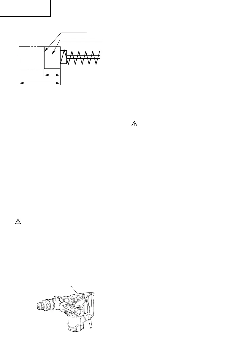
Utiliser le balai en carbone HITACHI No. 74 indiqué
sur la Fig. 18.
Remplacement du balais en carbone
Desserrer la vis de fixation et enlever le couvercle
de la queue. Enlever la chapeau de balai et la balai
en carbone. Après avoir remplacé le balai en
carbone, serrer fermement le chapeau du balai et
installer le couvercle avec deux vis de fixation.
5. Comment remplacer la graisse
Cette machine est de contruction entièrement
hermétique pour la protéger contre la poussière
et pour éviter les fuites de lubrifiant. Elle peut donc
être utilisée sans lubrification pendant longtemps.
Remplacer la graisse comme indiqué ci-dessous.
Période de remplacement
Remplacer la graisse après chaque période de 6
moins d’utilisation. Se procurer la graisse chez
l’Agence de Service Autorisée HITACHI la plus
proche. Procéder au remplacement.
Plein de graisse
PRECAUTION:
Avant de faire le plein de la graisse, fermer
l’interrupteur et débrancher l’outil de la prise de
courant.
(1) Enlever le couvercle du carter et essuyer la graisse
à l’intérieur. (Fig. 19)
(2) Appliquer 2.0 oz (60 g) de graisse pour marteau
électrique Hitachi A (en tube) au carter.
(3) Après avoir fait le plein de graisse, installer
fermement le couvercle du carter.
REMARQUE:
La graisse pour marteau électrique Hitachi A est
du type à viscosité faible. Si nécessaire, se procurer
la graisse chez un agent réparateur Hitachi agréé;
adressez-vous à votre Agent de Service Autorisé
Hitachi pour vous en procurer de nouveau.
6. Entretien et reparation
Tous les outils motorisés de qualité auront
éventuellement besoin d’une réparation ou du
remplacement d’une pièce à cause de l’usure
normale de l’outil. Pour assurer que seules des
pièces de rechange autorisées seront utilisées, tous
les entretiens et les réparations doivent être
effectués uniquement par UN CENTRE DE SERVICE
HITACHI AUTORISE.
7. Liste des pièces de rechange
PRECAUTION :
Les réparations, modifications et inspections des
outils électriques Hitachi doivent être confiées à
un service après-vente Hitachi agréé.
Il sera utile de présenter cette liste de pièces au
service après-vente Hitachi agréé lorsqu’on
apporte un outil nécessitant des réparations ou
tout autre entretien.
Lors de l’utilisation et de l’entretien d’un outil
électrique, respecter les règlements et les normes
de sécurité en vigueur dans le pays en question.
MODIFICATIONS :
Les outils électriques Hitachi sont constamment
améliorés et modifiés afin d’incorporer les tous
derniers progrès technologiques.
En conséquence, il est possible que certaines
pièces soient modifiées sans avis préalable.
Limite d’usure
No. du balai en carbone
0.28" (7 mm)
0.67" (17 mm)
74
Fig. 18
Fig. 19
Cache de carter
02Fre_DH38MS_US 7/14/09, 9:2326

Table of Contents

Related product manuals