EasyManua.ls Logo

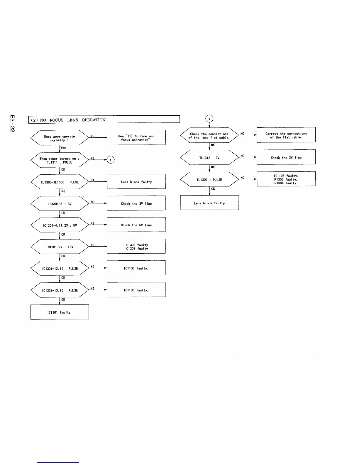
Hitachi VM-7380E - CHAPTER 3 ELECTRICAL ADJUSTMENT; (2) NO FOCUS LENS OPERATION

Hitachi VM-7380E
105 pages
Print Icon
To Next Page IconTo Next Page
To Next Page IconTo Next Page
To Previous Page IconTo Previous Page
To Previous Page IconTo Previous Page
Loading...

Related product manuals