EasyManua.ls Logo

Holmes HAP716 - Features and Operations; True HEPA Filter Technology; Speed Settings and Airflow Modes; Filter Monitor and Usage Preparation

Holmes HAP716
8 pages
Print Icon
To Next Page IconTo Next Page
To Next Page IconTo Next Page
To Previous Page IconTo Previous Page
To Previous Page IconTo Previous Page
Loading...
TRUE HEPA FILTER
HEPA (High Efficiency Particulate Air) filters are
designed to remove up to 99.97% of airborne pollutants
at 0.3 microns or larger, from the air that passes through
them. These include tobacco smoke, household dust, pet
dander and pollen.
HIGH, MEDIUM AND LOW SPEED SETTINGS
For optimum air filtration, operate your Holmes
®
air
purifier continuously on the MEDIUM ( 2 ) setting. Its
rugged motor has been designed to give many years of
use. For quieter operation (such as in a bedroom), select
the LOW ( 1 ) setting. When high levels of air pollution
are present, select the HIGH ( 3 ) setting to quickly
circulate and filter the room air.
FILTER MONITOR
The filter monitor light eliminates guesswork by letting
you know when it is time to replace the filters.
BEFORE USE
1. Carefully unpack your Air Purifier.
2. Select a firm level place with no obstructions to the
air inlet or filtered air outlet.
3. If the filter is covered by a bag when shipped, remove
plastic bag before use and place filters into unit.
DO NOT POINT FILTERED AIR OUTLET TOWARDS WALL.
OPERATING INSTRUCTIONS
1. Plug into a 120V AC electrical outlet.
2. Select the desired operating speed from HIGH ( 3 ),
MEDIUM ( 2 ) or LOW ( 1 ) by moving the knob to
the desired setting.
3. To release negative ions into the filtered air, turn the
ionizer knob to ON ( ) and the light will illuminate.
For optimum air filtration, it is recommended to operate
the air purifier continuously. Its rugged motor has been
designed to give many years of use.
CLEANING/MAINTENANCE INSTRUCTIONS
1. Turn the air purifier off and unplug it before cleaning.
2. The outside of the air purifier can be cleaned with a
soft, clean dampened cloth.
3. The rear air inlet grill can be removed and washed in
warm soapy water (not dishwasher safe). Dry before
replacing in the unit.
4. The filtered air outlet can be cleaned of dust with a
small, soft brush.
If the plug does not fit into the outlet, contact qualified
electrician to install the proper outlet.
This product is for use on 120 volts. DO NOT ALTER
THE PLUG IN ANY WAY.
CORD SAFETY
The length of cord used on this appliance was
selected to reduce tangling or tripping hazards.
If a longer cord is necessary, an approved extension
cord may be used. The electrical rating of the
extension cord must be equal to or greater than the
electrical rating of the air purifier (see rating label
marked on product).
Care must be taken to arrange the extension cord so
that it will not drape over the countertop or tabletop
where it can be pulled on by children or accidentally
tripped over.
GET TO KNOW YOUR AIR PURIFIER
Your true HEPA air cleaner removes up to 99.97% of
airborne allergens as small as 0.3 microns, including
ragweed pollen, grass pollen, tree pollen, household dust,
dust mite debris, mold spores, pet dander and smoke
from the air passing through the filter.
IONIZER
This appliance has an optional ionizer feature which,
when turned on, releases negative ions into outgoing
filtered air to help the air purification process.
What Are Ions?
Ions are tiny particles that carry a positive or negative
charge. They exist naturally around us: in the air, water,
and ground. Both positive and negative ions are colorless,
odorless, and harmless.
How Does The Ionizer Work?
Negative ions help air purification by attaching themselves
to very small airborne particles in the room. These particles
take on a negative charge and may join with positively
charged particles such as dust, pollen, smoke, and pet
dander to form larger particles. These larger particles are
then more easily captured by the filter system.
Important Notes:
Your ionizer may produce an occasional popping or
cracking sound. This is normal and occurs when a small
buildup of ions is discharged.
After extended use, you may notice dust around the grills
or front panel. This is caused by negative ions exiting the
air outlet, evidence of the ionizer’s air cleaning
effectiveness. You can remove the dust with a soft brush
or clean, damp cloth.
Larger particles may be attracted to positively charged
surfaces throughout the home, like walls or floors.
This may occur more frequently when the filter is
nearing the end of its useful product life and unable
to capture as many charged particles.
Excessive amounts of pet dander, dust, or smoke may
decrease the life expectancy of the filter and
interfere with the ionization process.
To help prevent particles from attracting to surfaces
throughout your home:
You may want to run the ionizer less often.
Check the condition of the filter more frequently.
CAUTION: The ionizer in this appliance produces less
ozone than the UL* established limits of 50ppb. However,
in high concentrations, ozone can be harmful to birds and
small pets. To prevent ozone buildup, we suggest using
the ionizer in well ventilated areas with the fan on.
*Tested and listed by the Underwriters Laboratories, Inc.
IMPORTANT SAFEGUARDS
SAFETY - FEATURES
When using electrical appliances, basic safety precautions
should always be followed to reduce the risk of fire, electric
shock, and injury to persons. These precautions include:
1. Read all instructions before using the appliance.
2. To avoid fire or shock hazard, plug the appliance
directly into a 120V AC electrical outlet.
3. If the filter is covered by a bag when shipped,
remove plastic bag before use.
4. Keep the cord out of heavy traffic areas. To avoid
fire hazard, NEVER put the cord under rugs, near
heat registers, radiators, stoves, or heaters.
5. To protect against electrical hazards, DO NOT
immerse the appliance in water or other liquids. Do
not use near water.
6. Close supervision is necessary when any appliance is
used by or near children, or disabled persons.
7. Always unplug the air purifier before moving or
cleaning the unit, opening the grill, changing the
filters and whenever the unit is not in use. To
disconnect the unit, be sure to pull the plug and not
the cord.
8. NEVER drop or insert any objects into the openings of
the unit.
9. DO NOT operate any appliance with a damaged cord
or plug. If the motor fan fails to operate or the unit
has been dropped or damaged in any manner, return
appliance to manufacturer for examination and/or
repair.
10. Use appliance only for intended household use as
described in this manual. Any other use not
recommended by the manufacturer may cause fire,
electric shock, or injury to persons. The use of
attachments not recommended or sold by Jarden
Consumer Solutions may cause hazards.
11. DO NOT use outdoors.
12. NEVER place on a soft surface such as a bed or sofa
as this could cause the unit to tip over and block the
air inlet or outlet grills.
13. Keep unit away from heated surfaces and open flames.
14. DO NOT attempt to repair or adjust any electrical or
mechanical functions on this unit. Doing so will void
your warranty. The inside of the unit contains no user
serviceable parts. All servicing should be performed
by Jarden Consumer Solutions or an authorized
Jarden Consumer Solutions Center.
15. DO NOT place anything on top of unit.
16. NEVER use detergents, gasoline, glass cleaner,
furniture polish, paint thinner, or other household
solvents to clean any part of the appliance.
17. Always turn the appliance off before unplugging it.
18. The ionizer may cause a static charge to build up on
the air outlet grill. A static charge may be felt if the
unit is not properly grounded. To avoid a static charge,
plug the unit's three-prong plug into a grounded outlet,
or properly install a ground adaptor (see PLUG SAFETY).
The static charge will not occur if the ionizer is off.
19. The ionizer in this appliance produces less ozone than
the UL established limits of 50ppb. However, in high
concentrations, ozone can be harmful to birds and
small pets. To prevent ozone buildup, we suggest using
the ionizer in well ventilated areas with the fan on.
20. This appliance should only be used in a room with
temperatures between 40° F and 110° F.
21. WARNING: To reduce the risk of fire or electric
shock, DO NOT use this appliance with any solid-state
speed control device.
PLEASE SAVE THESE
IMPORTANT SAFETY
INSTRUCTIONS
PLUG SAFETY
CAUTION: To reduce the risk of electric shock, THIS
PRODUCT IS EQUIPPED WITH A 3-PRONG PLUG, a
grounding type plug that has a third (grounding) pin.
The cord has a plug (A) as shown. An adapter (C) can be
purchased for connecting three-blade grounding-type
plugs to two-slot receptacles (B).
The green grounding wire or lug extending from the
adapter must be connected to a permanent ground such as
a properly grounded outlet box. The adapter should not be
used if a three-slot grounded receptacle is available.
This plug will only fit into a grounding type power outlet.
FEATURES - OPERATIONS
5. If you wish to clean the inside of the air purifier, please
only use a dry, soft cloth to wipe it down.
WARNING: Do not allow moisture to come in contact with
the main housing of the air purifier.
FILTER REPLACEMENT INSTRUCTIONS
IMPORTANT:
DO NOT attempt to wash and re-use HEPA filters.
If new filters are enclosed in plastic bags, remove
them before use.
NOTE: Every few weeks, check the condition of filters.
Filter life will vary, depending on air quality and usage.
Under normal conditions of continuous use, HEPA filters
need replacement every 10-12 months.
To replace your filter:
1. Turn off and unplug the air purifier.
2. Open the air inlet grill and examine the foam
prefilter. Remove any dust or lint, and wash in warm
soapy water. Rinse, drip dry, and place back into grill
inlet.
3. Remove used filters from the unit by pulling them
gently towards you and discard them. DO NOT
attempt to clean the old HEPA filters.
4. Install new HAPF300 HEPA filters (usage: 2 filters in
each unit) into the unit. This model utilizes hang tabs
and filter clips to insure that the filters are properly
in place. Before replacing the filters, make sure that
the hang tabs are
securely in place. The
clip can only be attached
to the tabs on the filter
one way. The filter clip
should easily slide onto
the filter hang tab with
only a small amount of
pressure. DO NOT use
force while attaching the
clip to the filter. (Fig. 2)
5. Align the clip on the side
of HEPA filter with rails
on the inside of the
purifier unit. Gently slide
the filter onto the rail. (Fig. 3)
6. Replace air inlet grill.
7. This model requires user to reset the Filter Life
Monitor once filters have been replaced. Reset the
monitor by inserting a small object (such as a pin or
paperclip) into the hole marked RESET ( ) and
holding it down for 2-3 seconds.
CLEANING/MAINTENANCE
FILTER REPLACEMENT
Fig. 2
Fig. 3
Air Purifier
Model Number
Filter Quantity
Needed
HAP716-U
2
True HEPA Filter
Filter Model
Number
Filter
Description
HAPF300
D Filter
Filters can be purchased at a retailer near you, online at www.holmesproducts.com, or by calling 1-800-546-5637.
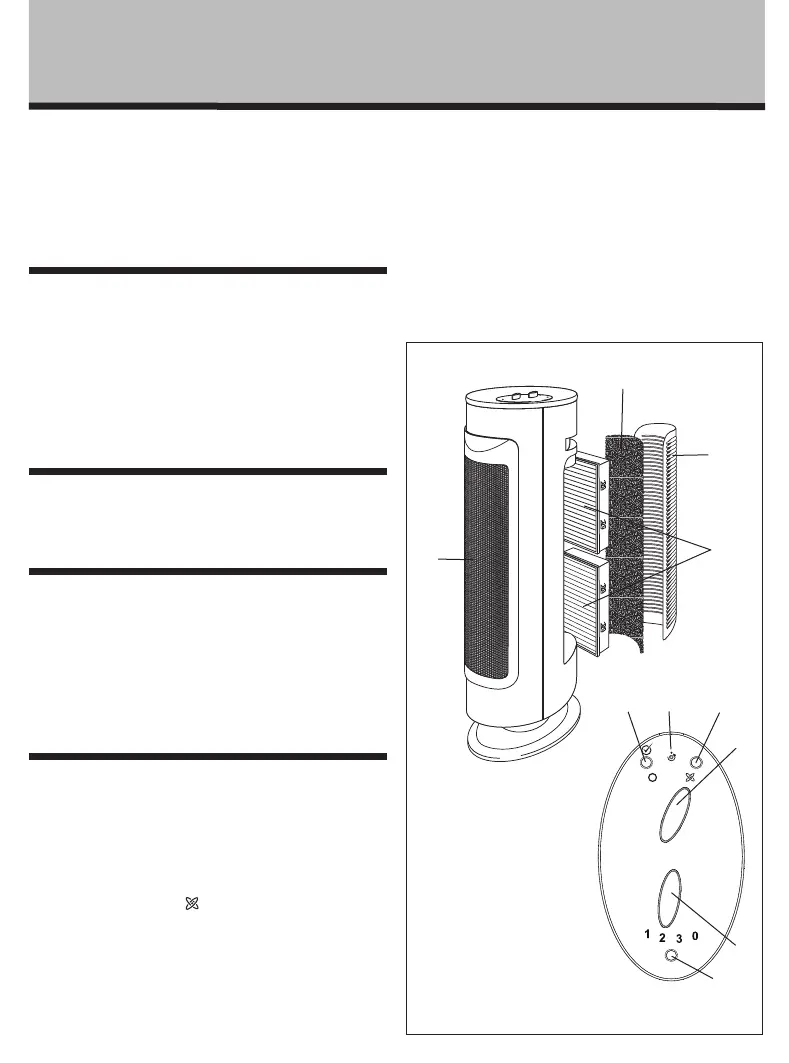
Fig. 1
C
D
B
A
E
F
H
A. AIR INLET GRILL
B. WASHABLE FOAM
PRE-FILTER
C. TRUE HEPA FILTER
(2 PCS)
D. FILTERED AIR OUTLET
E. FILTER INDICATOR LIGHT
F. RESET HOLE
G. IONIZER LIGHT
H. IONIZER CONTROL
I. SPEED CONTROL
J. POWER LIGHT
Top of The Unit
G
I
J
HAP716-U_09EM1.qxd:9100040003540 11/1/10 2:15 PM Page 2

Related product manuals