EasyManua.ls Logo

Honeywell Bendix/King Silver Crown Plus - KT 70 and KT 71 Panel-Mounted Transponders; Operating the KT 70 and KT 71

Honeywell Bendix/King Silver Crown Plus
80 pages
Print Icon
To Next Page IconTo Next Page
To Next Page IconTo Next Page
To Previous Page IconTo Previous Page
To Previous Page IconTo Previous Page
Loading...
KT 70/KT 71
47
KT 70 and KT 71
Panel-Mounted Transponders
Operating the KT 70 and KT 71
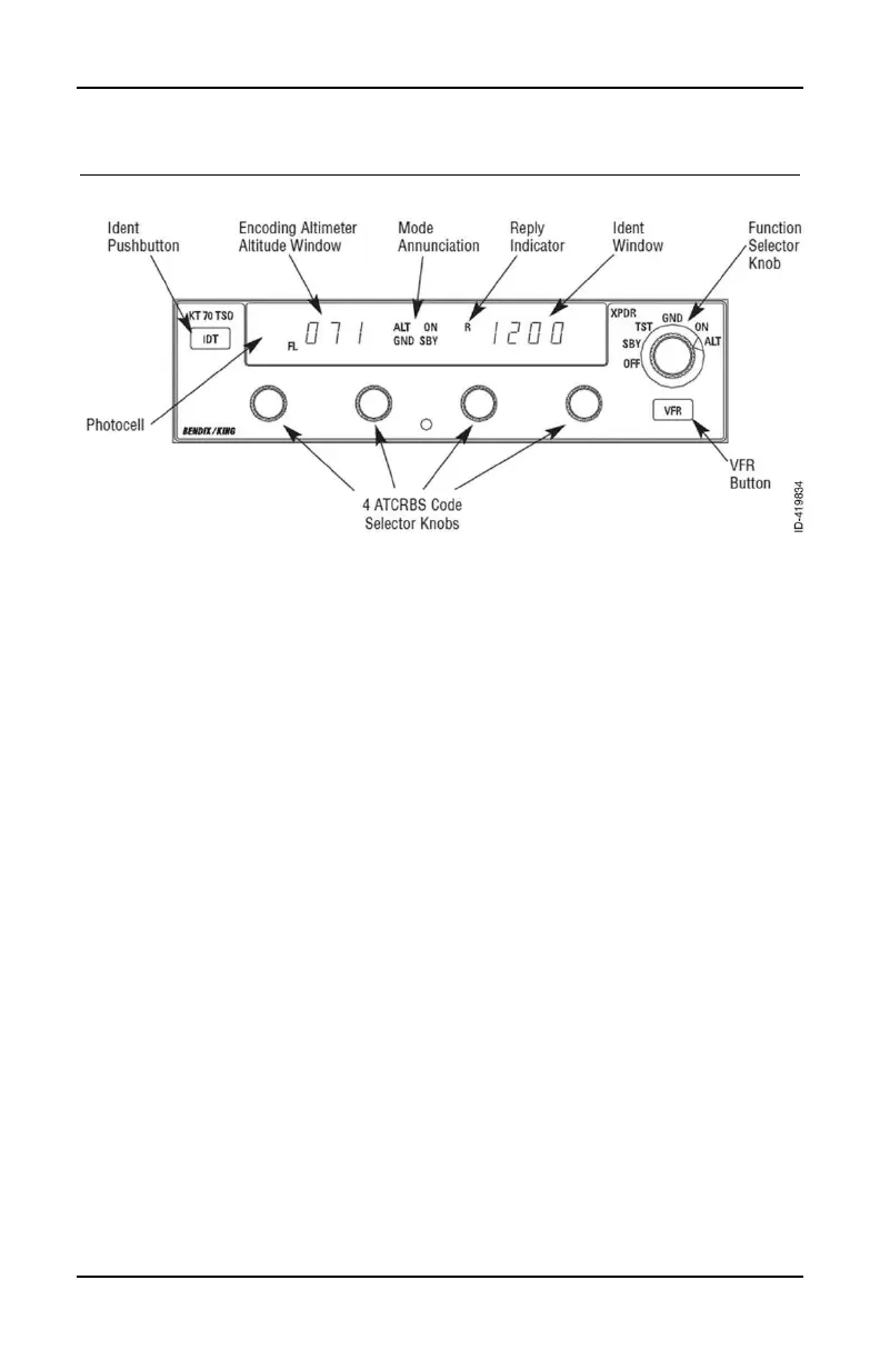
IDENT Button
Marked IDT, the KT 70/71’s Ident
button is pressed when ATC requests
an “Ident” or “Squawk Ident” from your
aircraft. When the Ident button is
pressed, the reply indicator, an “R”-
shaped annunciator light will glow for
approximately 18 seconds. An
optional Remote Ident switch may
also be installed to perform the same
function.
ID Code
The ATCRBS Transponder
Identification code (squawk code) for
the aircraft is displayed in the Ident
Window on the right side of the
display. Each of the four Transponder
Code Selector Knobs selects a
separate digit of the identification
code.
Reply
The lighted “R” reply indicator
blinks when the transponder is
replying to a valid interrogation and
illuminates for 18 seconds after the
initiation of the Ident.
Altitude Display
The KT 70 and KT 71 display
Flight Level Altitude, marked by the
letters “FL” and a number in hundreds
of feet, on the left side of the display.
For example, the reading “FL 071”
corresponds to an altitude of 7,100
feet, referenced to 29.92 inches of
mercury (or 1013 hP) at sea level.
Flight Level Altitude represents
“pressure altitude”, and should not be
confused with true altitude. Please
note that the displayed altitude may
not agree exactly with the aircraft’s
altimeter when flying below 18,000
feet, because encoders are preset to
29.92 inches of mercury. An

Related product manuals