EasyManua.ls Logo

HP 3500 Series - Page 140

HP 3500 Series
554 pages
Print Icon
To Next Page IconTo Next Page
To Next Page IconTo Next Page
To Previous Page IconTo Previous Page
To Previous Page IconTo Previous Page
Loading...
126 Theory of operation ENWW
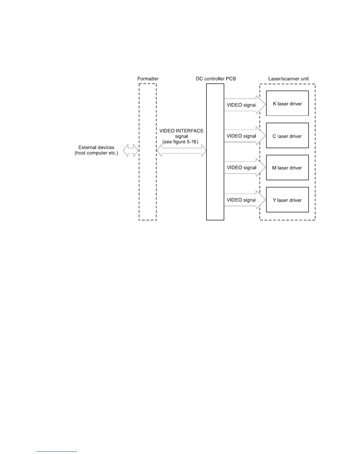
Video interface control
The video interface enables communication between the formatter and the DC controller. The
formatter uses the video interface to monitor the printer status continuously. It sends the VIDEO
signal via the video interface when the printer is ready for printing. The DC controller turns the
laser on/off according to the VIDEO signal.
Figure 5-15 Video interface
Operational description
The VIDEO INTERFACE signal is exchanged as follows during print:
1 When the printer engine is ready for printing, the DC controller notifies the formatter of it using
a status command (SC) signal.
2 The formatter sends a print command in the form of an SC signal to the DC controller when
both the printer engine and the data for one page are ready.
3 The DC controller that drives the scanner motor sends the HORIZONTAL SYNCHRONOUS
signals (/BD1, /BD2, /BD3, /BD4) to the formatter upon receipt of print command.
4 The printer engine picks up paper. It stops the paper at the registration paper sensor (PS4)
and sends the VERTICAL SYNCHRONOUS signal (/TOP) to the formatter.
5 The formatter sends the VIDEO signals (VDO1, /VDO1, VDO2, /VDO2, VDO3, /VDO3, VDO4,
/VDO4) to the DC controller in synchronization with the /BD1~4 signals upon receipt of the
/TOP signal.
6 The DC controller controls each color’s laser driver circuits and turns on/off the laser according
to the VDO11~41 signals. This forms a electrostatic latent image on each color’s
photosensitive drums.
7 The latent images are developed by toner and transferred onto the ITB in the order of Y
(yellow), M (magenta), C (cyan), and K (black).

Other manuals for HP 3500 Series

Related product manuals