EasyManua.ls Logo

HP 8901B - Page 221

HP 8901B
290 pages
Print Icon
To Next Page IconTo Next Page
To Next Page IconTo Next Page
To Previous Page IconTo Previous Page
To Previous Page IconTo Previous Page
Loading...
Model
8901B
Service
Q
r
a
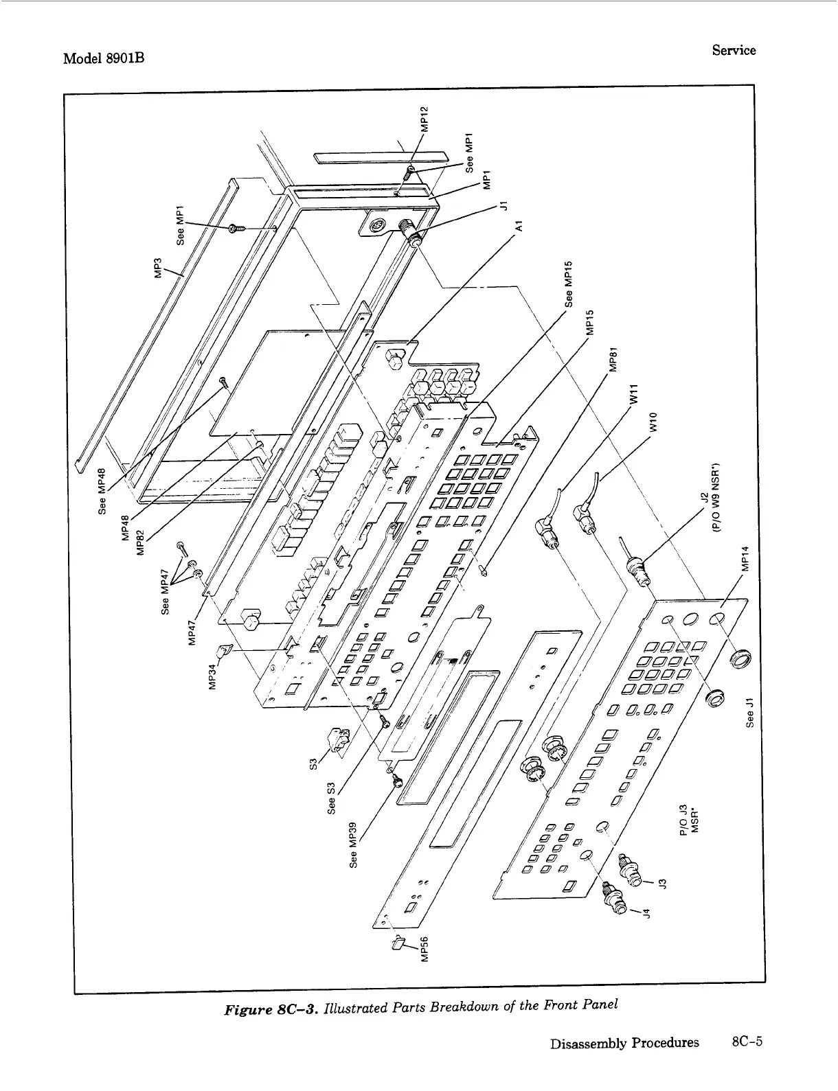
Figure
8C-3.
Illustrated Parts Breakdown
of
the Front Panel
Disassembly Procedures
8C-5

Other manuals for HP 8901B

Related product manuals