EasyManua.ls Logo

HP 8903B - Page 100

HP 8903B
240 pages
Print Icon
To Next Page IconTo Next Page
To Next Page IconTo Next Page
To Previous Page IconTo Previous Page
To Previous Page IconTo Previous Page
Loading...
Replaceable Parts
Model
8903B
d
e$
MP13
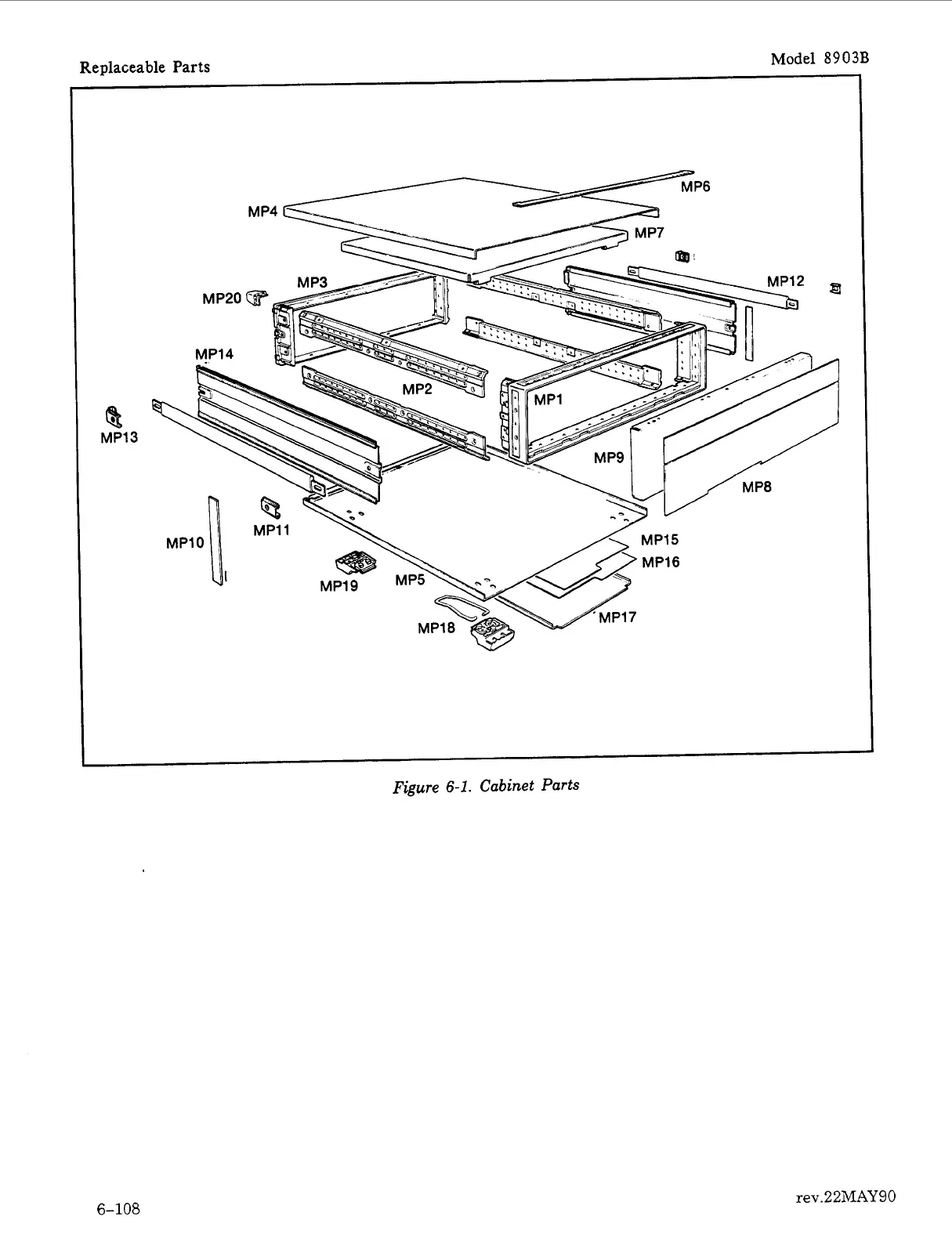
Figure
6-1.
Cabinet
Parts
6-108
rev.22MAY90

Related product manuals