EasyManua.ls Logo

HP AlphaServer GS1280 Model 16 - Page 19

HP AlphaServer GS1280 Model 16
59 pages
Print Icon
To Next Page IconTo Next Page
To Next Page IconTo Next Page
To Previous Page IconTo Previous Page
To Previous Page IconTo Previous Page
Loading...
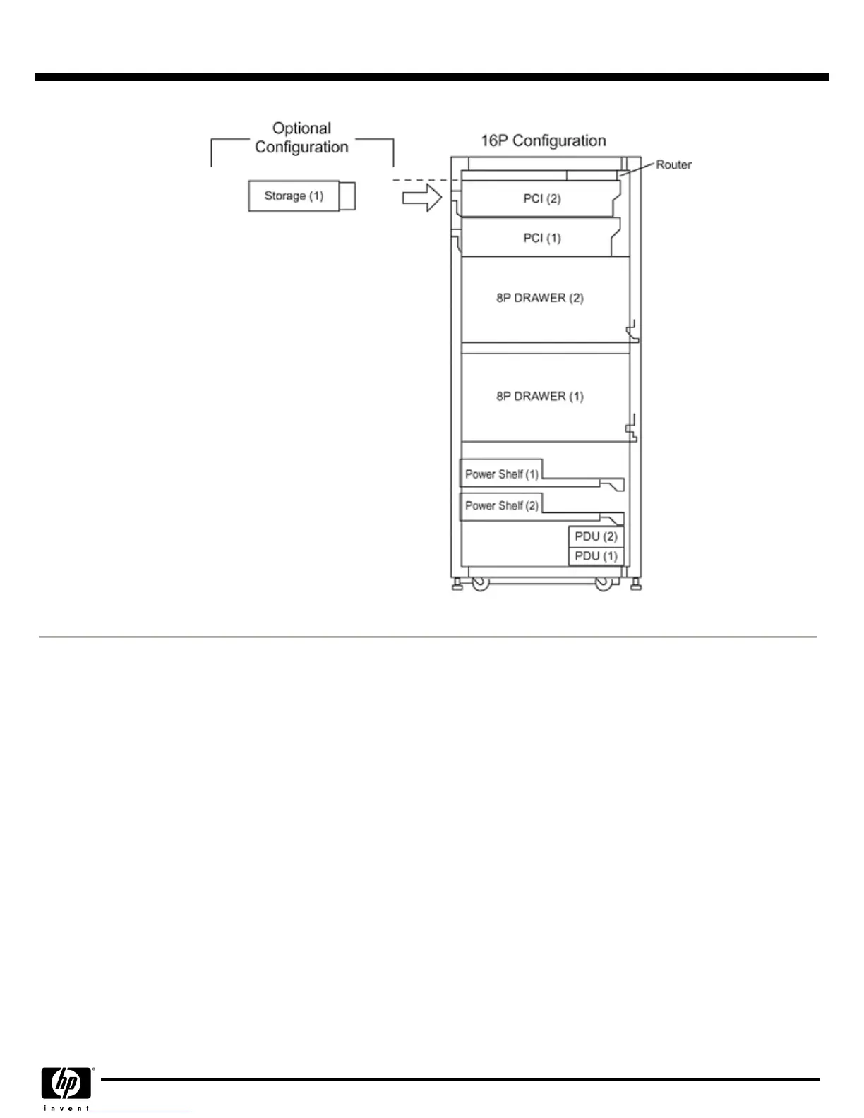
AlphaServer GS1280 Model 16 - Internal System Expansion Options
QuickSpecs
HP AlphaServer GS1280 Systems
GS Options
DA - 11921 Worldwide — Version 24 — July 23, 2007
Page 19

Related product manuals