EasyManua.ls Logo

HPC Punch Machine 1200PCH - Page 22

HPC Punch Machine 1200PCH
78 pages
Print Icon
To Next Page IconTo Next Page
To Next Page IconTo Next Page
To Previous Page IconTo Previous Page
To Previous Page IconTo Previous Page
Loading...
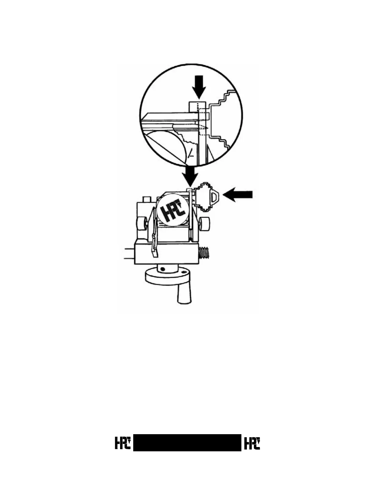
Typical shoulder gauging.
20
PUNCH MACHINE
Fig. 3.5
No. 1200PCH

Related product manuals