EasyManua.ls Logo

Hubbell ST - Single Safety Solenoid System

Hubbell ST
24 pages
Print Icon
To Next Page IconTo Next Page
To Next Page IconTo Next Page
To Previous Page IconTo Previous Page
To Previous Page IconTo Previous Page
Loading...
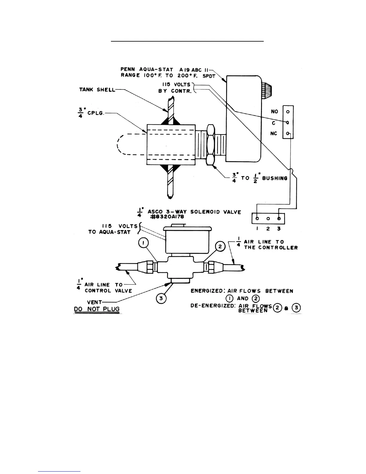
SINGLE SAFETY SOLENOID SYSTEM (if installed)
17

Related product manuals