EasyManua.ls Logo

Hubbell ST - Double Safety Solenoid System; Adjustment of Temperature Regulators; Adjusting 2-Way Air or Water Operated Valves

Hubbell ST
24 pages
Print Icon
To Next Page IconTo Next Page
To Next Page IconTo Next Page
To Previous Page IconTo Previous Page
To Previous Page IconTo Previous Page
Loading...
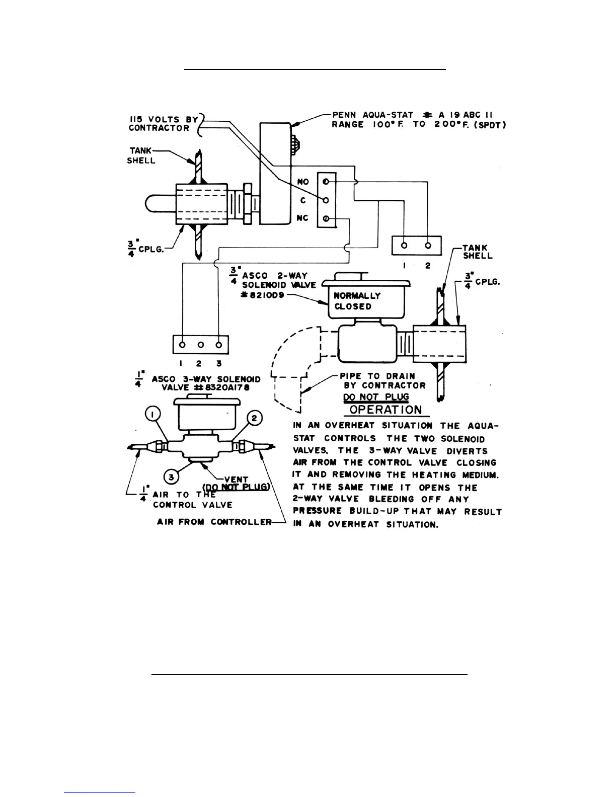
DOUBLE SAFETY SOLENOID SYSTEM (if installed)
SECTION IV – ADJUSTMENT OF TEMPERATURE REGULATORS
1. The spring tension on temperature regulators is adjusted at the factory to meet
design conditions. However, design conditions may vary from actual operating
conditions and re-adjustment might be required on this job.
2. Whenever possible, Hubbell uses “fail safe” regulators. This means that if the
controlling medium, such as air or water is lost, the valve will close under it’s
own spring tension.
3. ADJUSTMENT OF 2-WAY AIR OR WATER OPERATED VALVES
a. Release all air pressure from the diaphragm.
b. Apply steam pressure to the valve.
c. If at this point, there is pressure on the downstream side of the valve, or if
steam can be heard passing through the valve, valve spring tension needs to
18

Related product manuals