EasyManua.ls Logo

Husky 38964 - Installation Steps; Step 1: Assemble Ball Plate and Backing Plate; Step 2: Position Assembly on Trailer Frame

Husky 38964
3 pages
Print Icon
To Next Page IconTo Next Page
To Next Page IconTo Next Page
To Previous Page IconTo Previous Page
To Previous Page IconTo Previous Page
Loading...
AllProductslimitedtoVehicleTowRating;seeVehicleOwnersManual
Seewww.huskytow.comforWarrantyInformation/TechSupport.© 2014HuskyTowingProducts
August13,2014Rev1Page2
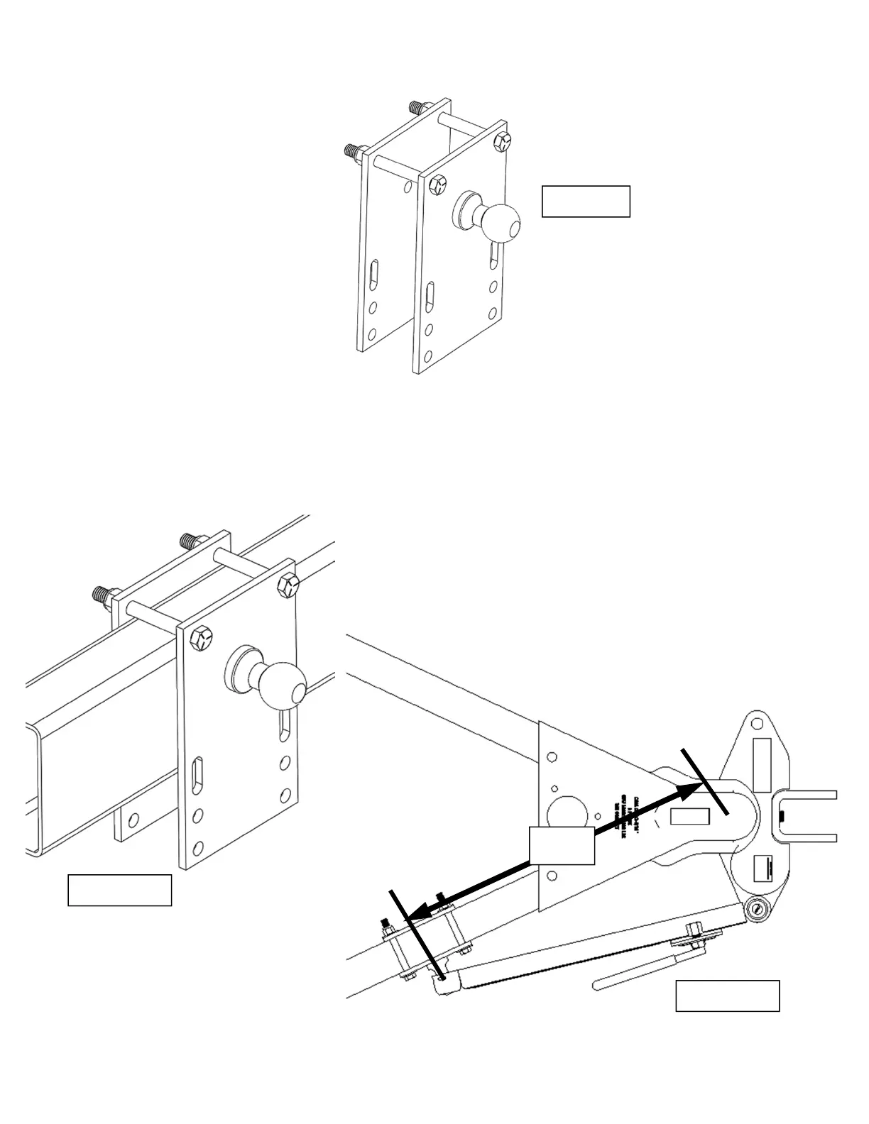
1: Assemble ball plate assembly (#1) and backing plate (#2) with the two 3/8” hex bolts
(#3) and two 3/8” lock nuts (#4) in the upper two holes in both plates. See Fig. 1
2: Position the assembly over the trailer frame and place it so that the ball is the correct
distance from the hitch sway control ball. See Fig. 2A. See sway control instructions for the
correct distance. For the Husky Friction Sway Controls part # 34715 & 37498; measure 24"
from the center of the coupler ball socket down the side of the frame to the center of the
ball on the ball plate assembly (#1). See Fig. 2B.
FIG. 2A
FIG. 2B
FIG. 1
24”

Related product manuals