EasyManua.ls Logo

i-box Barrel - Page 56

i-box Barrel
100 pages
Print Icon
To Next Page IconTo Next Page
To Next Page IconTo Next Page
To Previous Page IconTo Previous Page
To Previous Page IconTo Previous Page
Loading...
Barrel | 56www.iboxstyle.com
00:00:07
1-1-2021
Scanning..... 22
11:24:52
24-5-2021
Connecting.....
11:24:52
24-5-2021
BBC Radio 1
Now Playing: Flore
BBC Radio 1
Now Playing: Flore
BBC Radio 1
Now Playing: Flore
Preset Store
<1: (Empty) >
Preset 1
Stored
Station List
<BBC Radio 1 >
Station List
<Cap UK >
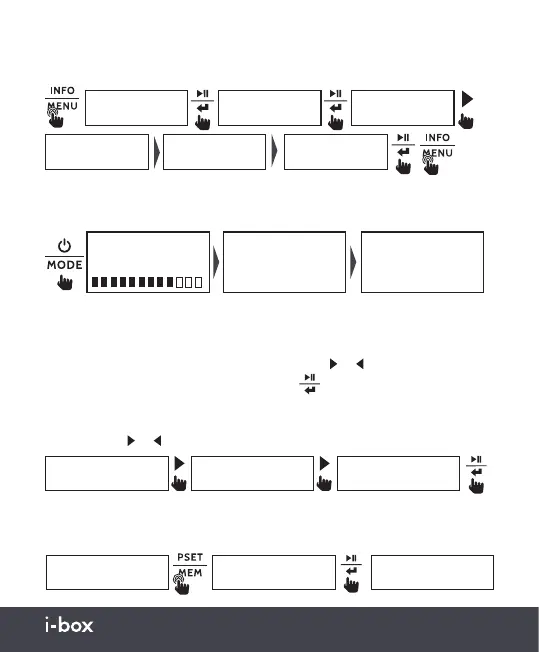
Si le signal radio d’une station est trop faible, la date et l’heure ne seront pas
synchronisées.
Liste des stations
Appuyez sur
et
pour parcourir toutes les stations DAB disponibles.
Menus de navigation
Appui long Info/Menu (3), puis sur les boutons et (5 et 7) pour faire
défiler les options du menu. Appuyez sur
(6)
pour sélectionner une
option ou accéder à un sous-menu.
Enregistrer une station sur un emplacement de présélection
Sauvegardez vos stations pférées sur l’un des 60 emplacements de
présélection disponibles (30 DAB et 30 FM).
System
<Language >
Standby
<System >
Language *
<English >
Language
<Deutsch >
Language
<Italiano >
Language
<Francais >
Langue:
L’anglais est la langue par défaut. Cinq autres langues sont
disponibles actuellement : Deutsch, Italiano, Francais, Español and Portugs.
La radio Barrel recherchera automatiquement toutes les stations DAB
disponibles. Celles-ci seront ajoutées à la liste des stations.
Sélectionner un mode
≥2s
≥2s
≥2s

Related product manuals