EasyManua.ls Logo

i-box Barrel - Page 57

i-box Barrel
100 pages
Print Icon
To Next Page IconTo Next Page
To Next Page IconTo Next Page
To Previous Page IconTo Previous Page
To Previous Page IconTo Previous Page
Loading...
Barrel | 57
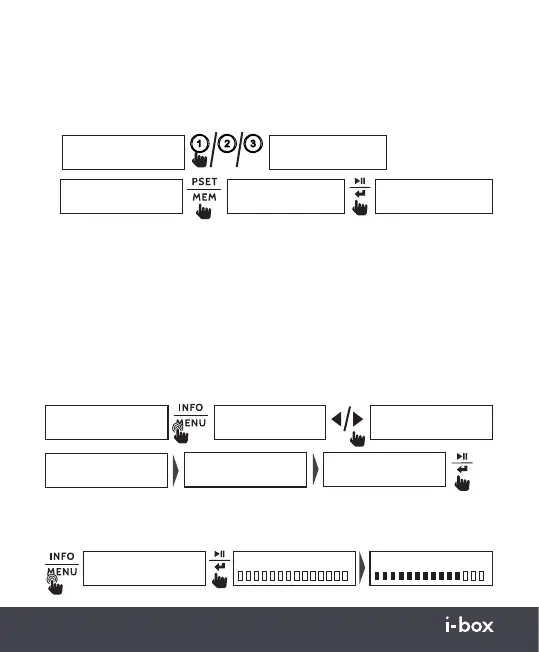
Retrouver une station dans les emplacements de plection
Accédez rapidement à vos stations préférées enregistrées sur un
emplacement de présélection. Vous pouvez utiliser les boutons de
présélection 1 à 3 (10, 11, 12) pour sélectionner rapidement les stations
mémorisées sur les trois premiers emplacements de présélection.
DAB
<Full Scan >
Scanning... 0 Scanning... 24
Options du menu DAB
En mode DAB, vous pouvez accéder à des fonctionnalités telles que: balayage
complet, rappel des présélections, stockage des présélections, réglage
manuel, DRC (commande de plage dynamique), suppression et système.
Balayage complet (recherche automatique): Recherche toutes les
fréquences DAB et enregistre toutes les stations disponibles dans la liste
des stations.
Heart UK
Now Playing: Room
Heart UK
Now Playing: Room
Preset Recall
<1: BBC Radio 1 >
BBC Radio 1
Connecting...
BBC Radio 1
Now playing: Some
1.
2.
≥2s
BBC Radio 1
Now Playing: Flore
DAB
<Full Scan >
DAB
<Manual Tune >
DAB
<Prune >
DAB
<DRC >
DAB
<System >
≥2s
Contrôle du volume et fonction de sourdine
Pour augmenter le volume pendant la lecture, utilisez la touche
d’augmentation du volume (8). Pour diminuer le volume, utilisez la touche
Volume bas (9). Pour couper le son en mode DAB/FM ou AUX In, appuyez
brièvement sur la touche Play/Enter (6), pour réactiver le son, appuyez
brièvement sur la touche.

Related product manuals