EasyManua.ls Logo

IBM 24 - Installing the Envelope Feeder

IBM 24
322 pages
Print Icon
To Next Page IconTo Next Page
To Next Page IconTo Next Page
To Previous Page IconTo Previous Page
To Previous Page IconTo Previous Page
Loading...
Network Administrator Tip
Once the card is installed, you will need to configure the printer and its
computing environment. To do so, review the documentation that arrived with
the cards.
Installing the Envelope Feeder
The optional envelope feeder enables you to stack up to 100 envelopes in the feeder.
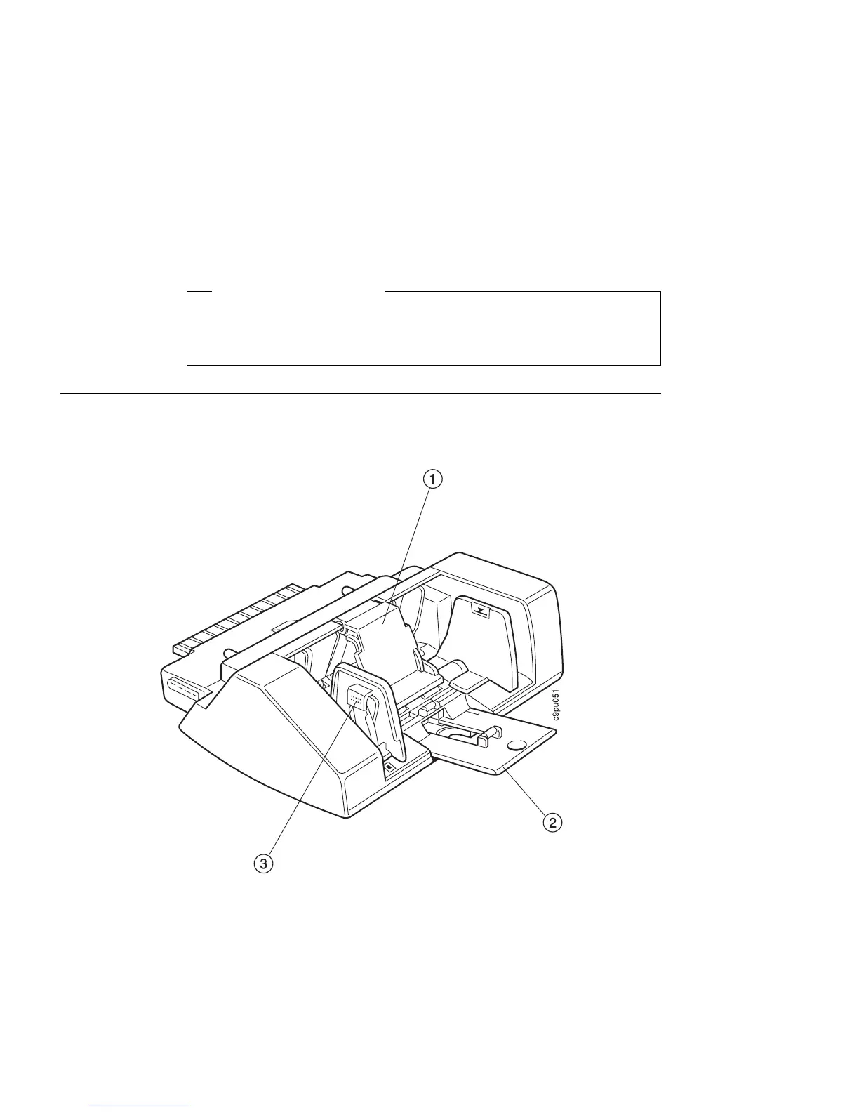
Figure 17 shows the key parts of the envelope feeder:
Figure 17. Key Envelope Feeder Parts and Locations
1. Envelope pressure plate
Helps keep envelopes stacked correctly for printing.
2. Extension tray
Holds larger size envelopes.
3. Envelope side guide
Adjusts to fit different size envelopes.
168 User's Guide

Related product manuals