EasyManua.ls Logo

IBM F50 RS/6000 7025

IBM F50 RS/6000 7025
364 pages
To Next Page IconTo Next Page
To Next Page IconTo Next Page
To Previous Page IconTo Previous Page
To Previous Page IconTo Previous Page
Loading...
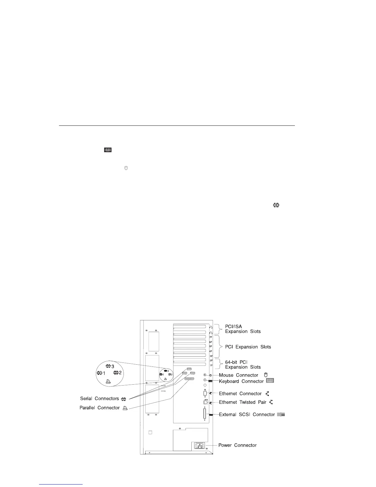
Connecting the Cables
1. If you are using a keyboard, attach the keyboard cable to the keyboard
connector ( ).
2. If you are installing a mouse or other pointing device, connect that cable to the
mouse connector (
).
3. If you are using a display, attach the display to the display connector on the back
of the display adapter in one of the expansion slots. See the
About Your
Machine
document for information on preinstalled adapters.
4. If you are using an ASCII terminal, connect the terminal to serial port 1 (
).
5. Connect the display or ASCII terminal power cord to the display or ASCII
terminal.
6. Attach adapter cables to any adapters installed in the expansion slots. See the
About Your Machine
document for information on preinstalled adapters. For
more instructions on adapter cabling, see the documentation that came with your
adapter, or to the
IBM RS/6000 Adapter, Device, and Cable Information for
Multiple Bus Systems
.
7. Make sure the system's power is turned off.
8. Connect the system connector power cord to the power connector.
Secure all
these connections,
then plug the display power cord and the system power cord
into properly grounded electrical outlets.
Chapter 1. System Startup 1-5

Related product manuals