EasyManua.ls Logo

IBM iSeries 810 - Page 448

IBM iSeries 810
622 pages
Print Icon
To Next Page IconTo Next Page
To Next Page IconTo Next Page
To Previous Page IconTo Previous Page
To Previous Page IconTo Previous Page
Loading...
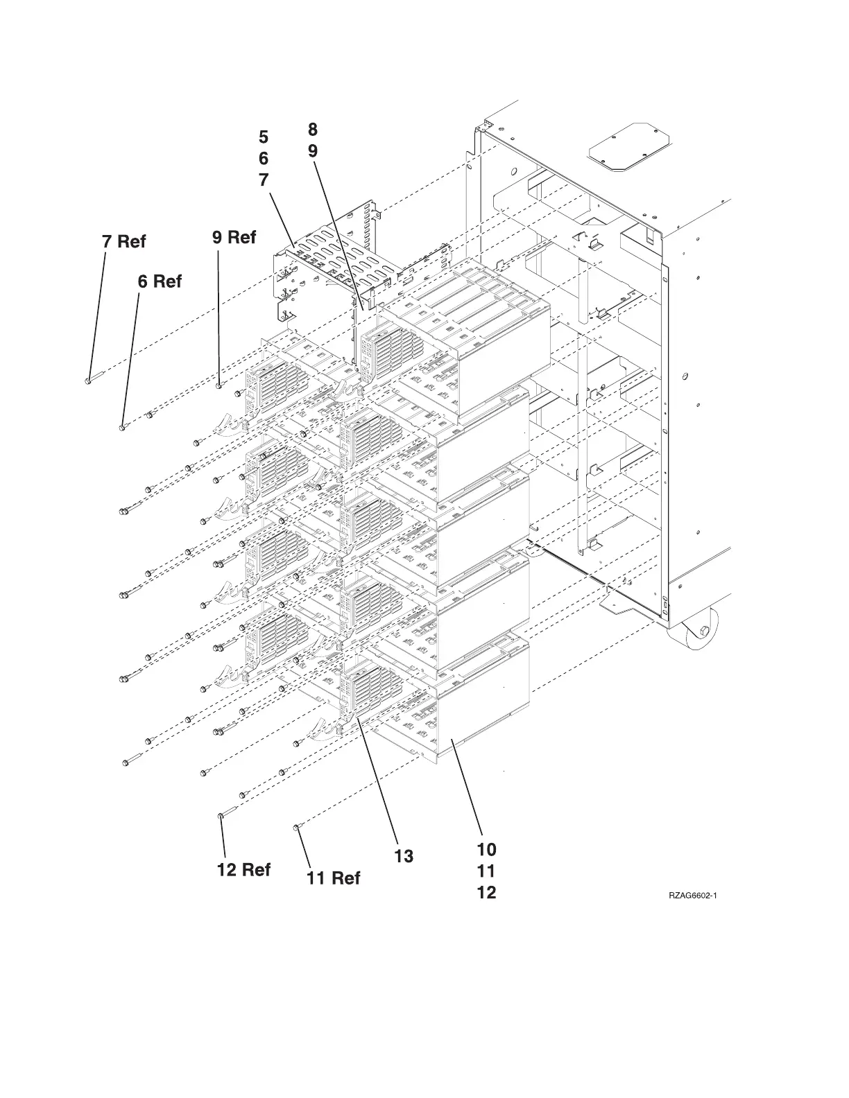
Table 2. Final assembly (front) - FC 9094 Base I/O Tower, (continued)
436 Hardware (Remove and Replace; Part Locations and Listings)

Table of Contents

Other manuals for IBM iSeries 810

Related product manuals