EasyManua.ls Logo

IBM iSeries 820 - Page 415

IBM iSeries 820
622 pages
To Next Page IconTo Next Page
To Next Page IconTo Next Page
To Previous Page IconTo Previous Page
To Previous Page IconTo Previous Page
Loading...
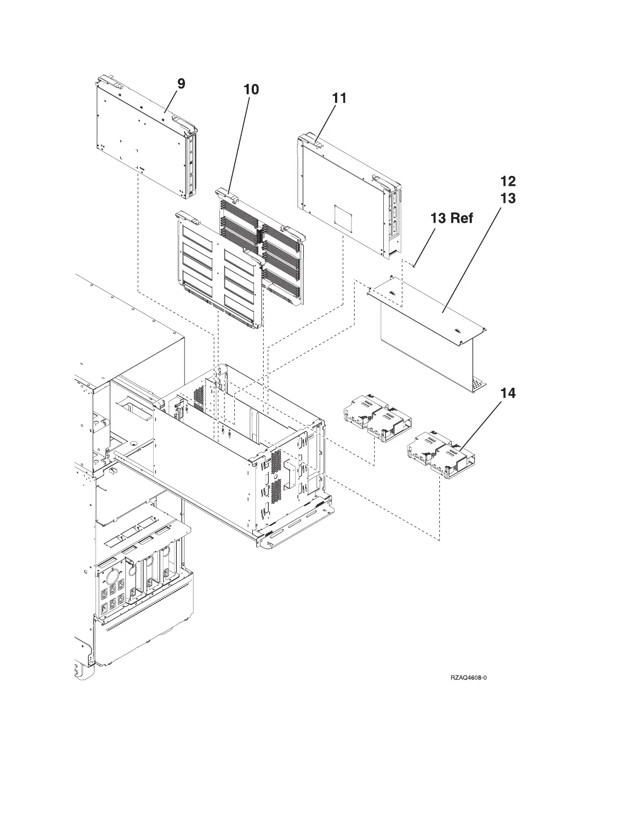
Table 2. Final assembly, rear - Models 830 and SB2 with FC 9074 (continued)
Analyze hardware problems 403

Table of Contents

Other manuals for IBM iSeries 820

Related product manuals