Home
IBM
Server
iSeries 820
Service Manual
Page 435
IBM iSeries 820 - Page 435
622 pages
Manual
Save Page as PDF
To Next Page
To Next Page
To Previous Page
To Previous Page
Loading...
T
able
2.
Final
assembly
-
FC
9079
Base
I/O
T
ower
(Models
840
and
SB3),
(continued)
Index
Part
number
Units
Description
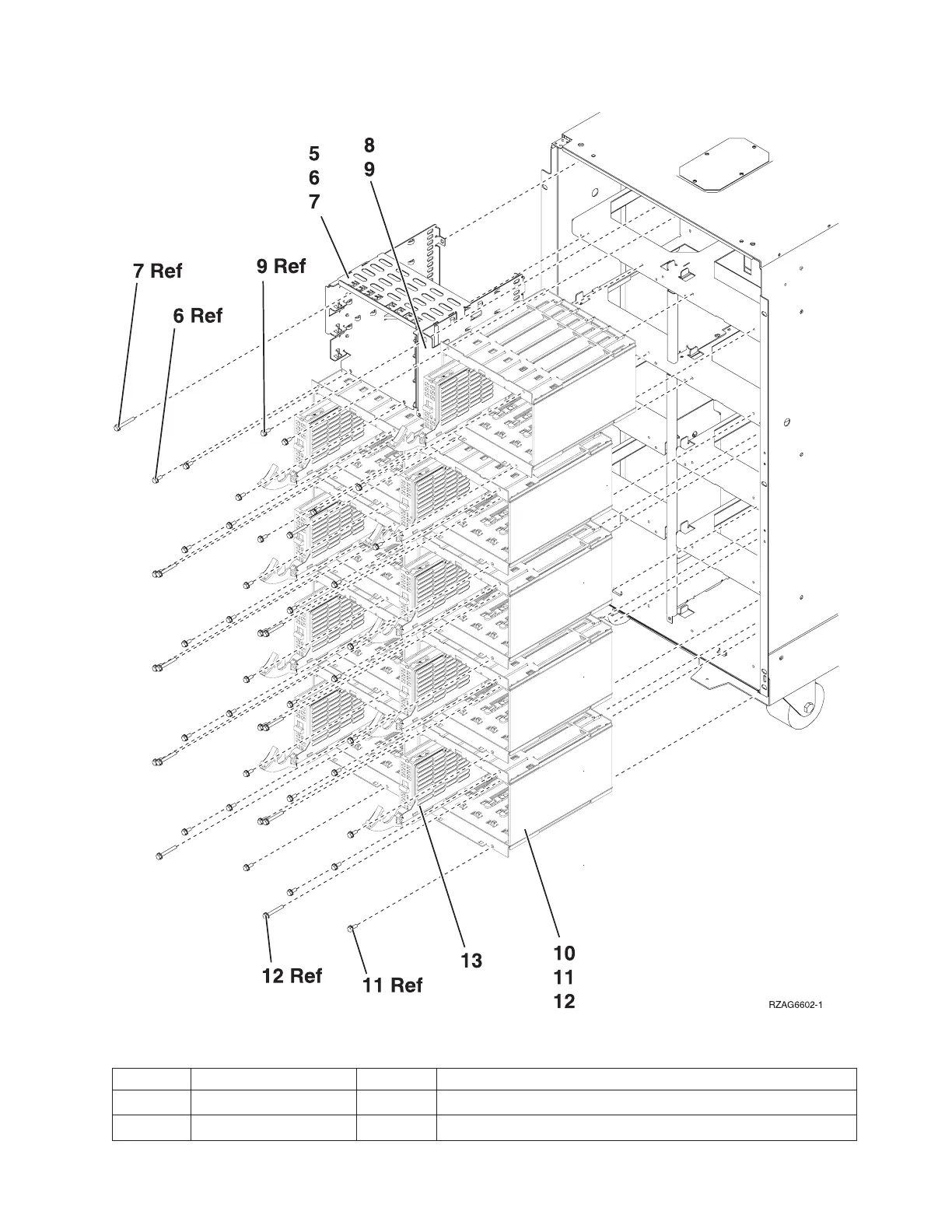
5
NONUM
1
Removable
media
cage
assembly
6
162181
1
2
Screw
,
M4
(10mm)
Analyze
hardware
problems
423
434
436
Table of Contents
Main Page
Default Chapter
5
Table of Contents
5
Analyze Hardware Problems
13
Remove and Replace Procedures
14
Models 270, 800, and 810 Remove and Replace Procedures
14
Models 270, 800, and 810 - Air Moving Device - B01 and B02
15
Models 270, 800, and 810 - Air Moving Device - B03
15
Models 270 and 810 - Cards (Concurrent)
16
Models 270, 800, and 810 - Cards (Dedicated)
18
Models 270, 800, and 810 - Control Panel - NB1
18
Models 270, 800, and 810 - Covers
19
Models 270, 800, and 810 - Device Board - DB1, DB2, and DB3
20
Models 270, 800, and 810 - Disk Unit (Concurrent)
20
Models 270, 800, and 810 - Disk Unit (Dedicated)
23
Memory - a through H
24
Memory on the Riser
24
Models 270, 800, and 810 - Memory
24
Models 270 and 810 - Processor - M02
25
Models 270, 800, and 810 - Power Supply - P01
25
Models 270, 800, and 810 - Power Supply - P02
25
Laser Safety Information
26
Models 270, 800, and 810 - Processor Regulator - R01
26
Models 270, 800, and 810 - Removable Media - D07 and D08
26
Models 270, 800, and 810 - System Unit Backplane - MB1
27
Models 270, 800, and 810 - Time of Day (TOD) Battery
28
Model 820 Remove and Replace Procedures
28
Model 820
29
Model 820 - Air Moving Device (AMD) - B01 through B04
29
Model 820 - Cards (Concurrent)
30
Model 820 - Cards (Dedicated)
31
Model 820 - Control Panel - NB1
32
Model 820 - Covers
33
Model 820 - Device Board - DB1 and DB2
33
Model 820 - Disk Unit (Concurrent)
33
Model 820 - Disk Unit (Dedicated)
35
Model 820 - Memory
36
Model 820 - Power Supply - P01, P02, and P03
37
Model 820 - Processor - M03
37
Model 820 - Processor Regulator - M03
37
Laser Safety Information
38
Model 820 - Removable Media - D13 and D14
38
Model 820 - System Unit Backplane (MB1) and Power Distribution Board (PB1)
38
Model 820 - Time of Day (TOD) Battery
40
Model 825 Remove and Replace Procedures
41
Model 825
41
Model 825 - Air Moving Device (AMD) - B01; B02 (Concurrent)
41
Model 825 - Cards (Concurrent)
42
Model 825 - Cards (Dedicated)
44
Model 825 - Control Panel - NB1
45
Model 825 - Covers
46
Model 825 - Device Board - DB1
46
Model 825 - Device Board - DB2, DB3, and DB4
47
Model 825 - Disk Unit (Concurrent)
47
Model 825 - Disk Unit (Dedicated)
49
Model 825 - HSL Card - MB1 and MB2
50
Model 825 - Interlock Switch
51
Model 825 - Memory - a through H
53
Model 825 - Power Cable Harness Assembly
53
Model 825 - Power Supply P01 and P02
54
Model 825 - Removable Media - D17 and D18
55
Model 825 - System Unit Backplane - CB1 and Power Bus Bar Assembly
57
Model 825 - Time of Day (TOD) Battery
61
Models 830/SB2 Remove and Replace Procedures
61
Models 830/SB2 with FC 9074 (with Single Line Cord) - AC Input/Charger (A01)
62
Model 830 with FC 9074, Model 840 with FC 9079 or FC 8079 (with Dual Line Cords) - AC Module (A01, A02)
62
Models 830/SB2 with FC 9074 - Air Moving Device - BP1 and BP2
63
Models 830/SB2 with FC 9074 - Battery (T01 through T04)
63
Models 830/SB2 with FC 9074 - Cards (Concurrent)
64
Models 830/SB2 with FC 9074 - Cards (Dedicated)
66
Models 830/SB2 with FC 9074 - Covers
70
Model 830/SB2 - Device Board (DB1 and DB2)
71
Models 830/SB2 - Device Board (DB3)
73
Disk Unit, Models 830/SB2 and 840/SB3 (Dedicated and Concurrent)
74
Models 830/SB2 with FC 9074 - System Unit Control Panel (NB1)
76
Models 830/SB2 with FC 9074 - Power Distribution Backplane (PB1)
78
Models 830/SB2 with FC 9074 - Power Supply (PP1 and PP2)
79
Model 830/SB2 - Processor Feature Codes and Ccins
80
Models 830/SB2 with FC 9074 - Removable Media (D41 and D42)
80
Laser Safety Information
80
Models 830/SB2 with FC 9074 - System Unit Backplane (MB1)
82
Models 830/SB2 with FC 9074 - Time of Day (TOD) Battery
83
Models 830/SB2 with FC 9074 - Tower Card (CB1)
84
Models 840/SB3 Remove and Replace Procedures
85
Models 840/SB3 Processor Tower (with Non-Dual Line Cords) - AC Box (A01)
86
Models 840/SB3 Processor Tower (with Dual Line Cords) - AC Box (A01, A03) - Concurrent Maintenance
86
Model 830 with FC 9074, Model 840 with FC 9079 or FC 8079 (with Dual Line Cords) - AC Module (A01, A02)
86
Models 840/SB3 Processor Tower (with Dual Line Cords) - Concurrent Maintenance Adapter Card (A02)
87
Models 840/SB3 Processor Tower - Air Moving Device (B01, B02, B03, and B04)
87
Model 840/SB3 System Unit - Battery Pack (T01)
88
Models 840/SB3, FC 8079-001 (Lower Half), FC 9079 Cards (Concurrent)
88
Models 840/SB3, FC 8079-001 (Lower Half), FC 9079 Cards (Dedicated)
90
Models 840/SB3 System Unit - Charger (G01)
92
Models 840/SB3 - Covers
92
Model 840/SB3 Processor Tower, FC 8079 (Lower Half), and FC 9079 - Control Panel (NB1)
92
Disk Unit, Models 830/SB2 and 840/SB3 (Dedicated and Concurrent)
94
Models 840 or SB3 External Battery Power Unit
97
Models 840/SB3 System Unit - Power Subframe Assembly (PB1)
97
Models 840/SB3 Processor Tower - Power Supply (PS) (P01 through P06)
98
FC 5074, FC 5079, FC 9079 - Removable Media - D41 and D42
99
Models 840/SB3 System Unit - SPCN Card (R21)
101
Models 840/SB3 - System Unit Backplane (MB1) and Regulator Board (RB1)
102
Models 840/SB3 (FC 9079) - Time of Day (TOD) Battery
103
Models 870 and 890 Remove and Replace Procedures
104
Models 870 and 890 - Bulk Power Controller (BPC)
105
Models 870 and 890 - Bulk Power Distribution (BPD)
106
Models 870 and 890 - Bulk Power Enclosure (BPE)
107
Models 870 and 890 - Bulk Power F-Airmover (BPF)
107
Models 870 and 890 - Bulk Power Regulator (BPR)
108
Models 870 and 890 - Capacitor Books and Blanks
109
Models 870 and 890 - Covers
109
Models 870 and 890 - DC Converter Assembly (DCA)
110
Models 870 and 890 - L3 Modules
111
Models 870 and 890 - MCM Module (Processor) and Pass-Through Modules
117
Models 870 and 890 - MDA (Air Mover) Controller
123
Models 870 and 890 - Memory Books and Memory Blanks
124
Models 870 and 890 - Motor Scroll Assembly (MSA) Air Filters
124
Inspect the Network Interface Controller (NIC) Card
125
Models 870 and 890 - MSA (Air Mover) Enclosure
125
Models 870 and 890 - Network Interface Controller (NIC) Card
125
Models 870 and 890 - Processor MSA (Air Mover) Assembly
126
Models 870 and 890 - Supporting Information
126
Models 870 and 890 - Install the MCM/L3/Passthrough Tri-Fold Plug Map
127
Models 870 and 890 - L3 Modules - Remove the Protective Cover
127
Models 870 and 890 - MCM and Pass-Through Module - Remove Protective Covers
131
Models 870 and 890 - Remove and Replace Tools
133
Models 870 and 890 - Shorts Test Qualified Service Meters and Fail Criteria
134
Testing MCM and L3 Modules for a Short Circuit
135
Models 870 and 890 - System Clock Card
143
Models 870 and 890 - System Unit Backplane (MB1)
143
Models 870 and 890 - Unit Emergency Power off (UEPO) Card Assembly
145
Models 870 and 890 - VPD Card
146
FC 5074, FC 5079, FC 8079, FC 9074, FC 9079 Remove and Replace Procedures
148
FC 5074, FC 5079, FC 9074, FC 9079 - Air Moving Device - B01 and B02
149
FC 5074, FC 5079, FC 9079 (Single Line Cord) - AC Charger - A01
149
FC 5074, FC 5079, FC 9079 (with Dual Line Cord) - AC Module - A01 and A02
149
FC 5074, FC 5079, FC 5094, FC 5294 - Cards (Concurrent)
150
FC 5074, FC 5079, FC 9079 - Batteries - T01, T02, T03, and T04
150
FC 5074, FC 5079, FC 5094, FC 5294 - Cards (Dedicated)
152
FC 5074, FC 5079, FC 5094, FC 5294, FC 9079, FC 9094 - Covers
153
FC 5074, FC 5079, FC 9079 - Device Board - DB1 and DB2
154
FC 5074, FC 5079, FC 9079 - Device Board - DB3
156
FC 5074, FC 5079 - Disk Unit (Concurrent)
157
FC 5074, FC 5079 - Disk Unit (Dedicated)
159
FC 5074, FC 5079 - Display Panel - NB1
160
FC 5074, FC 5079, FC 9079 - Power Distribution Board - PB1
160
FC 5074, FC 5079, FC 9074, FC 9079 - Power Supply - P00, P01, P02, and P03
161
FC 5074, FC 5079, FC 9079 - Removable Media - D41 and D42
162
FC 5074, FC 5079, FC 9079 - Tower Card - CB1
164
FC 5075 Remove and Replace Procedures
167
FC 5075 - Air Moving Device - B01 and B02
167
FC 5075 - Cards (Concurrent)
168
FC 5075 - Cards (Dedicated)
169
FC 5075 - Covers
170
FC 5075 - Device Board - DB1
170
FC 5075 - Disk Unit (Concurrent)
170
FC 5075 - Disk Unit (Dedicated)
172
FC 5075 - Display Panel - NB1
173
FC 5075 - Power Distribution Board - PB1
174
FC 5075 - Power Supply - P01 and P02
174
FC 5075 - SPCN Card - SB1
174
FC 5075 - Tower Card - CB1
175
FC 5078, FC 0578 - Air Moving Device (AMD) - B01 and B02
176
FC 5078, FC 0578, FC 5088, FC 0588 Remove and Replace Procedures
176
FC 5078, FC 0578, FC 5088, FC 0588 - Air Moving Device Controller Card - BB1
177
FC 5078, FC 0578, FC 5088, FC 0588 - Cards (Concurrent)
177
FC 5078, FC 0578, FC 5088, FC 0588 - Cards (Dedicated)
179
FC 5078, FC 0578, FC 5088, FC 0588 - Covers
180
FC 5078, FC 0578, FC 5088, FC 0588 - Display Panel - NB1
180
FC 5078, FC 0578, FC 5088, FC 0588 - Power Distribution Backplane - PB1
180
FC 5078, FC 0578 - Power Supplies - P01 and P02
181
FC 5078, FC 0578, FC 5088, FC 0588 - Tower Card - CB1
181
FC 5094, FC 5294, FC 8094, FC 9094 Remove and Replace Procedures
182
FC 5094, FC 9094 (with Single Line Cord) - AC Module - A01 and A02
183
FC 5094, FC 9094 (with Dual Line Cord) - AC Module - A01 and A02
184
FC 5094, FC 9094 - Air Moving Device - B01 and B02
184
FC 8094-001 (Lower Half), FC 9094 - Cards (Concurrent)
184
FC 8094-001 (Lower Half), FC 9094 - Cards (Dedicated)
186
FC 9094 Base I/O Tower- Control Panel - NB1
187
FC 5074, FC 5079, FC 5094, FC 5294, FC 9079, FC 9094 - Covers
189
FC 5094, FC 9094 - Device Board - DB1 and DB2
190
FC 5094, FC 9094 - Device Board - DB3
191
FC 5094, FC 9094 - Disk Unit (Concurrent)
192
FC 5094, FC 9094 - Disk Unit (Dedicated)
194
FC 5094 - Display Panel - NB1
195
FC 5094, FC 9094 - Power Distribution Backplane - PB1
196
FC 5094, FC 9094 - Power Supply - P00, P01, P02, P03
197
FC 5094, FC 9094 - Removable Media - D41 and D42
198
FC 9094 - Time of Day (TOD) Battery
200
FC 5094, FC 9094 - Tower Card - CB1
201
FC 5095, FC 0595 Remove and Replace Procedures
203
FC 5095, FC 0595 - Air Moving Device - B01, B02, B03, and B04
203
FC 5095, FC 0595 - Cards (Concurrent)
204
FC 5095, FC 0595 - Cards (Dedicated)
205
FC 5095, FC 0595 - Covers
206
FC 5095, FC 0595 - Device Board - DB1 and DB2
206
FC 5095, FC 0595 - Disk Unit (Concurrent)
206
FC 5095, FC 0595 - Disk Unit (Dedicated)
208
FC 5095, FC 0595 - Display Panel - NB1
210
FC 5095, FC 0595 - Power Distribution Backplane - PB1
210
FC 5095, FC 0595 - Power Supply - P01 and P02
210
FC 5095, FC 0595 - Tower Card - CB1
211
HSL Cables - Concurrent
212
Type 2689, 2748, 2757, 2763, 2778, 2780, 2782, 2890, 2892, 4758, 5703, 5708 Cards
212
Type 2689 - Integrated Xseries Adapter (IXA)
213
Type 2748, 2757, 2763, 2778, 2780, 2782, 5703, 5708 - Cache Battery Pack
214
Separating the Removable Cache Card from the Base Card on Type 2780 Cards
219
Type 2748, 2757, 2763, 2778, 2780, 2782, 5703 - Cache Directory Card
224
Type 2890 or 2892 - Integrated Xseries Server (IXS) for Iseries
227
Type 4758 - Battery Replacement Procedure
228
Type 4758 - Cryptographic Coprocessor Disablement
229
Tape Cartridge - Manual Removal
230
Type 4685 - Tape Cartridge
230
Tape Cartridge
232
Type 6335 - 1/4 Inch Tape Cartridge
233
Optical Media (CD-ROM, DVD-ROM, and DVD-RAM) - Manual Removal
235
Part Locations and Listings
235
Locations and Addresses
236
How to Use Locations and Addresses
236
Locations - Model 270
238
Locations - Models 800 and 810
252
Model 810 System Unit Processor Features 7428, 7430
253
Models 800 and 810 System Unit (Except Processor Features 7428, 7430)
256
Locations - Model 820
260
Locations - Model 825
266
Locations - Models 830, SB2 System Unit with FC 9074 Base I/O Tower
272
Locations - Models 840, SB3 System Unit with Processor Tower and FC 9079 Base I/O Tower
282
Model 840, SB3 Processor Tower
282
Locations - Models 870 and 890 with an FC 9094 Base I/O Tower
296
Locations - Models 870 and 890
297
Locations - FC 9094 Base I/O Tower
303
Locations - FC 5074 Expansion I/O Tower
306
Locations - FC 5075 Expansion I/O Tower
311
Locations - FC 5078, 0578 Expansion I/O Unit
313
Locations - FC 5079 Expansion I/O Tower
316
Locations - FC 5088, FC 0588 Expansion I/O Unit
317
Locations - FC 5094 Expansion I/O Tower
321
Locations - FC 5095, FC 0595 Expansion I/O Tower
324
Locations - FC 5294 Expansion I/O Tower
327
Locations - FC 8079 Expansion /O Tower
327
Locations - FC 8093 Expansion I/O Tower
329
Locations - FC 8094 Expansion I/O Tower
330
Locations - Integrated Xseries Adapter Card (IXA)
330
Locations - Power Distribution Unit (PDU)
332
Locations - 2890 Integrated Xseries Server (IXS)
333
Locations - I/O Adapters
333
Addresses - Model 270
334
Locations - 2892 Integrated Xseries Server (IXS)
334
Addresses - Models 800 and 810
337
Addresses - Model 820
339
Addresses - Model 825
341
Addresses - Models 830, SB2 System Unit with FC 9074 Base I/O Tower
344
Addresses - Models 840, SB3 Processor Tower and FC 9079 Base I/O Tower
348
Addresses - Models 870 and 890 with an FC 9094 Base I/O Tower
352
Addresses - FC 5074 Expansion I/O Tower
357
Addresses - FC 5075 Expansion I/O Tower
361
Addresses - FC 5078, FC 0578 Expansion I/O Unit
363
Addresses - FC 5079 Expansion I/O Tower
364
Addresses - FC 5088, FC 0588 Expansion I/O Unit
365
Addresses - FC 5094 Expansion I/O Tower
366
Addresses - FC 5095, FC 0595 Expansion I/O Tower
372
Addresses - FC 5294 Expansion I/O Tower
375
Addresses - FC 8093 Expansion I/O Tower
375
Addresses - FC 8094 Expansion I/O Tower
375
Addresses - for External Xseries Server, Iseries Adapter - Machine Type 1519
375
Locations - FC 8079 Expansion I/O Tower
375
Memory Locations and Placement Rules
376
2884 Memory Card
376
CCIN 24A0, CCIN 244A Processor Card with DIMM Memory
376
Part Assemblies
377
How to Use this Parts Listing
377
Part Assemblies - Models 270, 800, and 810
378
Cover Assembly - Models 270, 800, and 810
379
Final Assembly - Models 270, 800, and 810
380
Control Panel Assembly - Models 270, 800, and 810
385
Cover Assembly - Models 270, 800, and 810 System Unit Expansion
386
Final Assembly - Models 270, 800, and 810 System Unit Expansion
388
Cover Assembly - Model 820
390
Part Assemblies - Model 820
390
Part Assemblies - Model 825
395
Part Assemblies - FC 0550, FC 0551, FC 0578, FC 0588, FC 0595, FC 5079, FC 5294, FC 8079, FC 8093, and FC 8094
456
FC 5074, FC 5079, FC 5094, FC 9094 Expansion I/O Tower
491
FC 5075 Expansion I/O Tower
491
FC 5078, FC 0578, FC 5088, or FC 0588 Expansion I/O Tower
491
FC 5095 or FC 0595 Expansion I/O Tower
491
Models 870 and 890 Processor Towers
491
Power and Signal Cables
491
Removable Media Address Jumper Positions
530
4685 Tape Unit
531
6321 CD-ROM Optical Unit
531
6330 DVD-RAM Optical Unit
531
6336 DVD-ROM Optical Unit
531
Type, Model, and Part Number List
532
Hardware Part Number Information
532
Power-Related Part Number Information
545
Internal and External Cables
547
Cleaning, Testing, and Miscellaneous Parts
549
Data Recovery and General Information
551
Recovery Procedures
551
Start Disk Service here
551
Dedicated Service Tools (DST) Procedures
552
Exchange a Disk Unit with Device Parity Protection
552
Exchange a Disk Unit with Mirrored Protection
552
Initialize Disk Unit and Copy to Disk
552
Resume Mirrored Protection
552
Save Data and Initialize Disk Unit
552
Verify the Repair
570
Verify Concurrent Repair
570
Verify Dedicated Repair
572
Power On/Off the System and Logical Partitions
573
Power off the System
573
Power on a Secondary Partition
573
Power on the System
573
Partition's Console
575
Power off a Secondary Partition
575
Power off a System with Multiple Logical Partitions
575
Expansion Unit Power Procedure
576
Mode Jumper Has Been Overridden
583
Set or Change the Mode of an I/O Card
583
Storage I/O Card Modes and Jumpers
583
Mode Jumper Is Missing
585
System Reference Codes (SRC) Address Formats
585
Hardware SRC Formats
589
Cryptographic I/O Processor
591
Determine if the System Has Guest Partitions
591
Determine if the System Has Logical Partitions
591
Alternate IPL Device
592
Determine the Hosting Partition of a Guest Partition
592
Determine the Load Source Disk and Alternate IPL Device
592
Determine the Release Level of a Guest Partition
592
Find the Load Source Disks on Systems with Mirrored Protection
592
Find the Load-Source Disk on Systems Without Mirrored Protection
592
What You Should Know about Load Source Disks on Systems with Mirrored Protection
592
Reclaim IOP Cache Storage
595
Forms
595
Problem Summary Form
596
Preventive Maintenance (PM)
597
Work with Electrostatic Discharge-Sensitive Parts
597
AC Power Cords - All Models
598
AC Safety Grounds
598
Covers - All Models
598
Internal Mechanical Inspection
598
Power off and on (System Unit) - All Models
598
Safety Labels
598
System Safety Inspection
598
Service Log
600
HSL Loop Configuration and Status Form
602
HSL Link Status Diagnosis Form
604
HSL Cable Location Form
605
Installed Features in a PCI Bridge Set Form
605
Terminology
606
Related Information for Analyze Hardware Problems
612
Version 5 Release
612
Notices
615
Trademarks
617
Other manuals for IBM iSeries 820
Manual
46 pages
Hardware Problem Analysis And Isolation
512 pages
Analyze Hardware Problems (System Reference Codes
306 pages
Related product manuals
IBM iSeries 810
622 pages
IBM iSeries 800
622 pages
IBM iSeries 270
622 pages
IBM iSeries Series
512 pages
IBM ISERIES SC41-5210-04
294 pages
IBM i 830
1000 pages
IBM i Series
46 pages
IBM System i
290 pages
IBM eserver i5
940 pages
IBM System x3200 M3
17 pages
IBM System x3650 M3 4255
194 pages
IBM System x3650 M4 Type 7915
192 pages