EasyManua.ls Logo

IBM RS/6000 7014-S00 - Page 22

IBM RS/6000 7014-S00
156 pages
Print Icon
To Next Page IconTo Next Page
To Next Page IconTo Next Page
To Previous Page IconTo Previous Page
To Previous Page IconTo Previous Page
Loading...
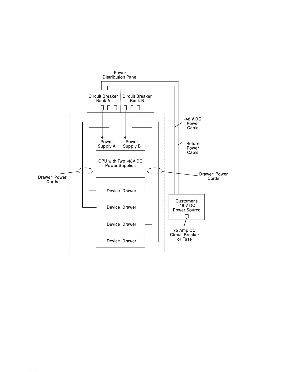
The following diagram shows power distribution in a typical Model S00 rack
configuration connected to one customer supplied power source. Note how each
power supply on the CPU enclosure is connected to a separate circuit breaker. Note
also how both banks of circuit breakers in the PDP are connected to the same power
source.
1-10 7014 Model S00 Rack Installation and Service Guide

Related product manuals