EasyManua.ls Logo

IDEAL 5255 - Safety Precautions (Continuing); Cable Protection and Blade Cover

IDEAL 5255
64 pages
Print Icon
To Next Page IconTo Next Page
To Next Page IconTo Next Page
To Previous Page IconTo Previous Page
To Previous Page IconTo Previous Page
Loading...
- 8 -
IDEAL 4855 IDEAL 5255 IDEAL 6655
Danger!
Blade must always be covered by the
pressing bar.
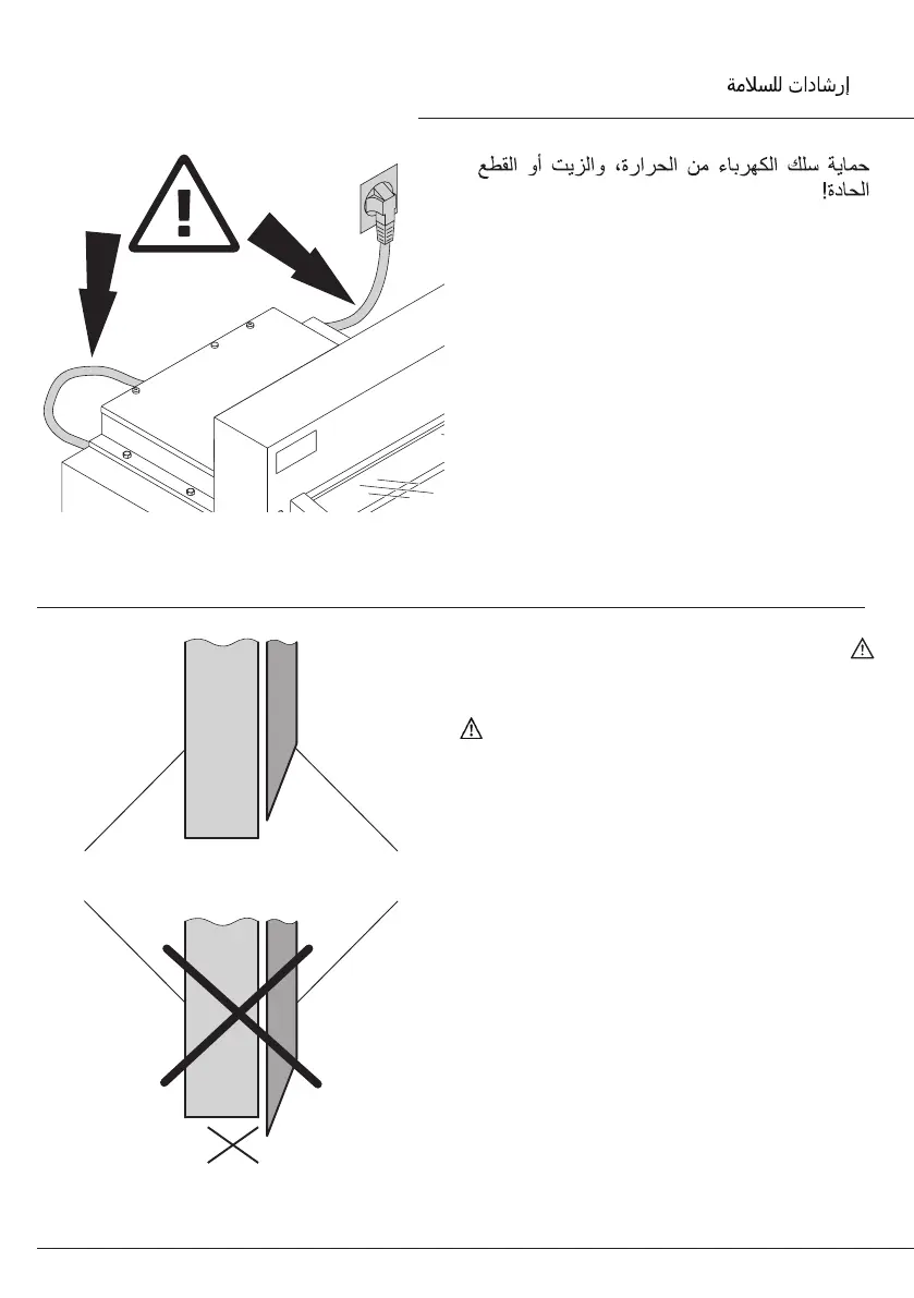
Protect mains cable against heat, oil and
sharp edges!
Safety precautions
Pressung
Messer
OK
OK
X
 !    
    
 "0 !"
  !
X !   
   !
6.
Clamping
Blade
OK
OK

Related product manuals