EasyManua.ls Logo

iFIT PRO-FORM PRO 2000 - EXPLODED DRAWING A

iFIT PRO-FORM PRO 2000
40 pages
Print Icon
To Next Page IconTo Next Page
To Next Page IconTo Next Page
To Previous Page IconTo Previous Page
To Previous Page IconTo Previous Page
Loading...
36
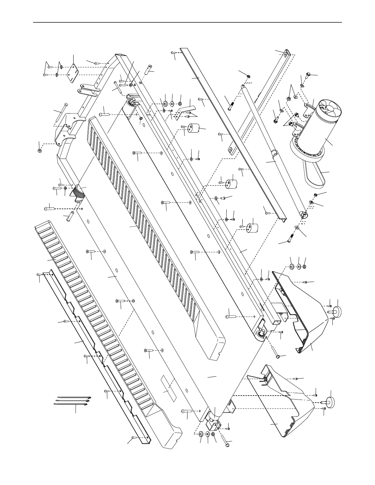
EXPLODED DRAWING A
46
15
39
35
42
27
45
52
50
43
27
17
40
12
29
34
57
29
15
27
29
29
17
55
43
58
59
42
35
39
51
26
31
55
54
49
48
47
5
5
5
5
5
5
67
15
24
32
13
41
32
13
60
25
27
25
61
25
37
44
65
18
66
3
3
3
18
18
18
3
3
3
3
3
3
3
18
65
44
20
10
64
31
11
42
35
39
62
44
53
25
25
39
27
39
28
63
116
116
25
31
11
31
11
11
Model No. PFTL12820.8 R1223A

Related product manuals