EasyManua.ls Logo

IFM Electronic SI5006 - Scale Drawing

IFM Electronic SI5006
14 pages
Print Icon
To Next Page IconTo Next Page
To Next Page IconTo Next Page
To Previous Page IconTo Previous Page
To Previous Page IconTo Previous Page
Loading...
13
UK
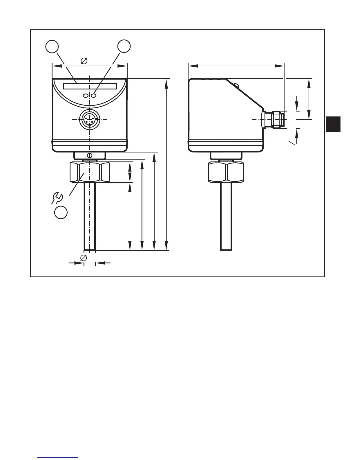
12 Scale drawing
22
1
2
113
60
65
14
8,2
45
50
27
63
" 20UNF 2A
2
1
3
1: LED bar display
2: set button
3: tightening torque 25 Nm